每月定時提供最新各國專利公報

車架相關專利 (TW)

專利 I663091

法商路克自行車國際公司
自行車車架及相關座桿
I663091
官網連結 PDF下載

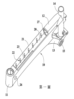
專利 D198009

陳 來偉
自行車車架之部分
D198009
官網連結 PDF下載

專利 M579128

昆富工業股份有限公司
自行車停車架
M579128
官網連結 PDF下載

專利 I659884

愛地雅工業股份有限公司
自行車車架及其五通
I659884
官網連結 PDF下載

專利 I655131

光陽工業股份有限公司
車架結合裝置
I655131
官網連結 PDF下載

專利 M576098

太宇工業股份有限公司
自行車熱塑複合材車架構件
M576098
官網連結 PDF下載

專利 D196543

官煥章
電動自行車架
D196543
官網連結 PDF下載

專利 I650531

財團法人自行車暨健康科技工業研究發展中心
自行車架之量測方法
I650531
官網連結 PDF下載

專利 D195551

巨大機械工業股份有限公司
自行車之泥除
D195551
官網連結 PDF下載

專利 M573313

泰豐行開發自行車有限公司
兩用車架
M573313
官網連結 PDF下載

專利 D194587

蕭棟元
電動代步車之車架部分組件
D194587
官網連結 PDF下載

專利 M570827

三陽工業股份有限公司
機車車架及油箱配置結構
M570827
官網連結 PDF下載

專利 M570266

陳 來偉
自行車車架
M570266
官網連結 PDF下載

專利 M569301

樂酷馬智動科技股份有限公司
載裝電池的電動自行車車架
M569301
官網連結 PDF下載

專利 D193551

王碩鋒
車架
D193551
官網連結 PDF下載

專利 I636911

巨大機械工業股份有限公司
自行車用車架
I636911
官網連結 PDF下載

專利 D192986

何岡隆
自行車之車架
D192986
官網連結 PDF下載

專利 D192824

張菽歡
自行車安全傘掛架
D192824
官網連結 PDF下載

專利 I635020

達方電子股份有限公司
壓力感測套筒與具有壓...
I635020
官網連結 PDF下載

專利 M566687

太宇工業股份有限公司
具馬達轉接座的自行車架組件
M566687
官網連結 PDF下載

專利 D192624

麥卡隆國際有限公司
自行車(一)
D192624
官網連結 PDF下載

專利 D192625

麥卡隆國際有限公司
自行車(二)
D192625
官網連結 PDF下載

專利 D192626

克爾米爾 馬汀
自行車車架
D192626
官網連結 PDF下載

專利 D192392

立大綠能股份有限公司
腳踏車車架
D192392
官網連結 PDF下載

專利 D191968

大躍設計有限公司
自行車車架
D191968
官網連結 PDF下載

專利 M564551

卓楷涵
電動自行車車架及電動自行車
M564551
官網連結 PDF下載

專利 D191174

統一速達股份有限公司
電輔三輪車
D191174
官網連結 PDF下載

專利 I621561

迅智自動化科技股份有限公司
自行車架的自動檢測及...
I621561
官網連結 PDF下載

專利 M558210

東莞鴻霖車業有限公司
自行車的後車架以及後...
M558210
官網連結 PDF下載

專利 M558211

炎輝企業股份有限公司
具避震效果之車架結構
M558211
官網連結 PDF下載

專利 M557699

卓楷涵
電動自行車車架
M557699
官網連結 PDF下載

專利 I617482

迪埃曼特有限公司
腳踏車車架
I617482
官網連結 PDF下載

專利 D188657

奇美佳實業有限公司
車架
D188657
官網連結 PDF下載

專利 I614176

李岳翰
電子構件與車架間之結合構造
I614176
官網連結 PDF下載

專利 I611970

佩德瑞堤 安得雷亞
自行車車架
I611970
官網連結 PDF下載

專利 I608929

余永元
自行車複合材質車架或...
I608929
官網連結 PDF下載

專利 M552896

太宇工業股份有限公司
自行車架雙電池組配結構
M552896
官網連結 PDF下載

專利 D186978

陳定坤
自行車車架
D186978
官網連結 PDF下載

專利 D185933

台鈴工業股份有限公司
機車
D185933
官網連結 PDF下載

專利 D185747

大躍設計有限公司
自行車
D185747
官網連結 PDF下載

專利 I600569

大躍設計有限公司
具有置物箱的自行車及其車架
I600569
官網連結 PDF下載

專利 D185560

財團法人自行車暨健康科技工業研究發展中心
多功能學習童車的車架
D185560
官網連結 PDF下載

專利 I599509

史比塞自行車組件公司
自行車架
I599509
官網連結 PDF下載

專利 D185024

來克車業有限公司
電動輔助自行車
D185024
官網連結 PDF下載

專利 M544461

野寶科技股份有限公司
內樞接五通裝置及具有...
M544461
官網連結 PDF下載

專利 I588054

史比塞自行車組件公司
具有內部佈線之自行車...
I588054
官網連結 PDF下載

專利 I588055

WIN&WIN股份有限公司
自行車的車架(二)
I588055
官網連結 PDF下載

專利 I588056

代力國際企業股份有限公司
自行車車架之成型方法
I588056
官網連結 PDF下載

專利 D183580

銘穗精密工業有限公司
剎車把手之部分
D183580
官網連結 PDF下載

專利 D183389

詹坤都
自行車車架的部分
D183389
官網連結 PDF下載

專利 I584991

久鼎金屬實業股份有限公司
自行車之整合式車架總成
I584991
官網連結 PDF下載

專利 I579187

景福事業股份有限公司
自行車車架避震結構
I579187
官網連結 PDF下載

專利 I569902

傑出材料科技股份有限公司
自行車車架管材製法
I569902
官網連結 PDF下載

專利 I557013

宏佳騰動力科技股份有限公司
機動車輛之車架
I557013
官網連結 PDF下載

專利 201918421

達方電子股份有限公司
二輪車架
201918421
官網連結 PDF下載

專利 201900482

挪威商簡化AS公司
用於自行車車架之內部...
201900482
官網連結 PDF下載

車架相關專利 (US)

專利 10328991

Bicycle fr...
10328991
PDF下載

專利 10308310

Wheel moun...
10308310
PDF下載

專利 10308308

Bicycle frame
10308308
PDF下載

專利 10300978

Foldable b...
10300978
PDF下載

專利 D844493

Bicycle frame
D844493
PDF下載

專利 D843893

Bicycle frame
D843893
PDF下載

專利 10239580

Bicycle fr...
10239580
PDF下載

專利 D842765

Bicycle frame
D842765
PDF下載

專利 D842764

Bicycle frame
D842764
PDF下載

專利 D842763

Bicycle frame
D842763
PDF下載

專利 D842762

Bicycle frame
D842762
PDF下載

專利 D840876

Bicycle frame
D840876
PDF下載

專利 10207765

Bicycle fr...
10207765
PDF下載

專利 10155559

Bicycle fr...
10155559
PDF下載

專利 10150530

Rigid fram...
10150530
PDF下載

專利 10131403

Double mot...
10131403
PDF下載

專利 D831543

Bicycle frame
D831543
PDF下載

專利 D828232

Cargo bicy...
D828232
PDF下載

專利 10071784

Bicycle fr...
10071784
PDF下載

專利 D826101

Bicycle frame
D826101
PDF下載

專利 10023257

Waterproof...
10023257
PDF下載

專利 9963188

Bicycle fr...
9963188
PDF下載

專利 9963187

Aerodynami...
9963187
PDF下載

專利 9919759

Inverted t...
9919759
PDF下載

專利 9919757

Bicycle an...
9919757
PDF下載

專利 9908582

Bicycle fr...
9908582
PDF下載

專利 D811275

Combinatio...
D811275
PDF下載

專利 9902457

Bicycle fr...
9902457
PDF下載

專利 9879713

Insert for...
9879713
PDF下載

專利 D807234

Bicycle frame
D807234
PDF下載

專利 9849931

Method for...
9849931
PDF下載

專利 D805001

Frame for ...
D805001
PDF下載

專利 D803728

Balance bi...
D803728
PDF下載

專利 D802487

Bicycle frame
D802487
PDF下載

專利 D801878

Bicycle dr...
D801878
PDF下載

專利 D801877

Bicycle dr...
D801877
PDF下載

專利 D801875

Bicycle frame
D801875
PDF下載

專利 9797810

Cycle fram...
9797810
PDF下載

專利 D800024

Bicycle frame
D800024
PDF下載

專利 9789925

Bicycle fr...
9789925
PDF下載

專利 9777774

Bicycle fr...
9777774
PDF下載

專利 D797610

Bicycle frame
D797610
PDF下載

專利 9708026

Bicycle fr...
9708026
PDF下載

專利 9701361

Bicycle fr...
9701361
PDF下載

專利 9694869

Adjustable...
9694869
PDF下載

專利 9669890

Bicycle fr...
9669890
PDF下載

專利 D785509

Bicycle frame
D785509
PDF下載

專利 D784205

Bicycle fr...
D784205
PDF下載

專利 D783460

Bicycle frame
D783460
PDF下載

專利 D783459

Bicycle fr...
D783459
PDF下載

專利 D781971

Stationary...
D781971
PDF下載

專利 D780641

Frame for ...
D780641
PDF下載

專利 D780071

Elliptical...
D780071
PDF下載

專利 D777610

Towing fra...
D777610
PDF下載

專利 D776577

Bicycle fr...
D776577
PDF下載

專利 D776015

Elliptical...
D776015
PDF下載

專利 D776014

Bicycle frame
D776014
PDF下載

專利 D774983

Bicycle fr...
D774983
PDF下載

專利 D774978

Bicycle fr...
D774978
PDF下載

專利 D774977

Bicycle fr...
D774977
PDF下載

專利 D774976

Bicycle fr...
D774976
PDF下載

專利 D774975

Bicycle fr...
D774975
PDF下載

專利 D774974

Bicycle fr...
D774974
PDF下載

專利 D774973

Bicycle fr...
D774973
PDF下載

專利 D774970

Bicycle frame
D774970
PDF下載

專利 D774967

Bicycle frame
D774967
PDF下載

專利 D774966

Bicycle frame
D774966
PDF下載

專利 D768544

Bicycle fr...
D768544
PDF下載

專利 D766137

Bicycle fr...
D766137
PDF下載

專利 D766136

Bicycle frame
D766136
PDF下載

專利 D759549

Bicycle frame
D759549
PDF下載

專利 D742284

Bicycle frame
D742284
PDF下載

專利 D738261

Bicycle frame
D738261
PDF下載

專利 D735619

Bicycle frame
D735619
PDF下載

專利 D735618

Bicycle frame
D735618
PDF下載

專利 D734692

Bicycle frame
D734692
PDF下載

專利 D734218

Bicycle frame
D734218
PDF下載

專利 D726075

Bicycle frame
D726075
PDF下載

專利 D725553

Bicycle frame
D725553
PDF下載

專利 D725552

Bicycle frame
D725552
PDF下載

專利 D724498

Bicycle frame
D724498
PDF下載

專利 D723432

Frame for ...
D723432
PDF下載

專利 D722285

Bicycle frame
D722285
PDF下載

專利 D721014

Bicycle frame
D721014
PDF下載

專利 D720657

Bicycle frame
D720657
PDF下載

專利 D720259

Support fr...
D720259
PDF下載

專利 D719880

Bicycle frame
D719880
PDF下載

專利 D719488

Bicycle frame
D719488
PDF下載

專利 D709567

Exercise b...
D709567
PDF下載

專利 D697836

Bicycle frame
D697836
PDF下載

專利 D695650

Frame of a...
D695650
PDF下載

專利 D693740

Bicycle frame
D693740
PDF下載

專利 D693739

Bicycle frame
D693739
PDF下載

專利 D691070

Bicycle frame
D691070
PDF下載

專利 D690239

Bicycle frame
D690239
PDF下載

專利 D690238

Bicycle frame
D690238
PDF下載

專利 D689408

Bicycle frame
D689408
PDF下載

專利 D689407

Bicycle frame
D689407
PDF下載

專利 D688599

Bicycle frame
D688599
PDF下載

專利 D686950

Bicycle frame
D686950
PDF下載

專利 D683661

Bicycle fr...
D683661
PDF下載

專利 D683272

Frame of b...
D683272
PDF下載

專利 D682744

Bicycle frame
D682744
PDF下載

專利 D679765

Exercise b...
D679765
PDF下載

專利 D677747

Exercise b...
D677747
PDF下載

專利 D677351

Exercise b...
D677351
PDF下載

專利 D673883

Mountain b...
D673883
PDF下載

專利 D672690

Bicycle frame
D672690
PDF下載

專利 D669824

Bicycle frame
D669824
PDF下載

專利 D667347

Bicycle frame
D667347
PDF下載

專利 D666946

Foldable b...
D666946
PDF下載

專利 D666536

Foldable b...
D666536
PDF下載

專利 D665708

Foldable b...
D665708
PDF下載

專利 D662445

Foldable b...
D662445
PDF下載

專利 D662011

Bicycle frame
D662011
PDF下載

專利 D658112

Bicycle fr...
D658112
PDF下載

專利 D651964

Frame for ...
D651964
PDF下載

專利 D647982

Bicycle tr...
D647982
PDF下載

專利 D643785

Frame for ...
D643785
PDF下載

專利 D643784

Tandem bic...
D643784
PDF下載

專利 D641292

Bicycle frame
D641292
PDF下載

專利 D637527

Bicycle frame
D637527
PDF下載

專利 D637526

Bicycle frame
D637526
PDF下載

專利 D635894

Bicycle frame
D635894
PDF下載

專利 D633828

Bicycle frame
D633828
PDF下載

專利 D633827

Elliptical...
D633827
PDF下載

專利 D633826

Bicycle frame
D633826
PDF下載

專利 D633416

Elliptical...
D633416
PDF下載

專利 D632615

Folding bi...
D632615
PDF下載

專利 D626893

Bicycle frame
D626893
PDF下載

專利 D623094

Bicycle frame
D623094
PDF下載

專利 D622638

Folding bi...
D622638
PDF下載

專利 D619935

Bicycle frame
D619935
PDF下載

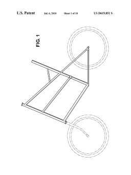
專利 D619051

Bicycle frame
D619051
PDF下載

專利 D615907

Bicycle frame
D615907
PDF下載

專利 D615906

Double-spr...
D615906
PDF下載

專利 D615460

Bicycle frame
D615460
PDF下載

專利 D613205

Bicycle frame
D613205
PDF下載

專利 D612300

Bicycle frame
D612300
PDF下載

專利 D610047

Folding bi...
D610047
PDF下載

專利 D606908

Bicycle frame
D606908
PDF下載

專利 D605091

Bicycle frame
D605091
PDF下載

專利 D604205

Bicycle frame
D604205
PDF下載

專利 D601929

Bicycle frame
D601929
PDF下載

專利 D600596

Bicycle frame
D600596
PDF下載

專利 D593625

Frame for ...
D593625
PDF下載

專利 D593457

Bicycle frame
D593457
PDF下載

專利 D590750

Bicycle frame
D590750
PDF下載

專利 D586702

Curved bic...
D586702
PDF下載

專利 D586701

Bicycle frame
D586701
PDF下載

專利 D575681

Bicycle frame
D575681
PDF下載

專利 D566012

Bicycle frame
D566012
PDF下載

專利 D556092

Bicycle fr...
D556092
PDF下載

專利 D542717

Bicycle fr...
D542717
PDF下載

專利 D542189

Bicycle frame
D542189
PDF下載

專利 D541705

Set of rei...
D541705
PDF下載

專利 D535588

Bicycle frame
D535588
PDF下載

專利 D533812

Men's bicy...
D533812
PDF下載

專利 D533811

Woman's bi...
D533811
PDF下載

專利 D528168

Hybrid ska...
D528168
PDF下載

專利 D527771

Hybrid ska...
D527771
PDF下載

專利 D524698

Bicycle frame
D524698
PDF下載

專利 D523380

Double sus...
D523380
PDF下載

專利 D522412

Bicycle frame
D522412
PDF下載

專利 D522411

Recumbent ...
D522411
PDF下載

專利 D520916

Cruiser bi...
D520916
PDF下載

專利 D520915

Bicycle frame
D520915
PDF下載

專利 D519885

Bicycle frame
D519885
PDF下載

專利 D517452

Bicycle frame
D517452
PDF下載

專利 D516469

Bicycle frame
D516469
PDF下載

專利 D514032

Bicycle frame
D514032
PDF下載

專利 D514031

Bicycle frame
D514031
PDF下載

專利 D514030

Bicycle frame
D514030
PDF下載

專利 D513210

Adjustable...
D513210
PDF下載

專利 D512664

Bicycle frame
D512664
PDF下載

專利 D510547

Bicycle frame
D510547
PDF下載

專利 D510059

Bicycle fr...
D510059
PDF下載

專利 D507768

Bicycle frame
D507768
PDF下載

專利 D507313

Stationary...
D507313
PDF下載

專利 D507211

Bicycle fr...
D507211
PDF下載

專利 D507210

Bicycle frame
D507210
PDF下載

專利 D506164

Bicycle fr...
D506164
PDF下載

專利 D505891

Bicycle frame
D505891
PDF下載

專利 D503662

Bicycle frame
D503662
PDF下載

專利 D500713

Bicycle frame
D500713
PDF下載

專利 D500465

Bicycle frame
D500465
PDF下載

專利 D497575

Bicycle frame
D497575
PDF下載

專利 D490027

Bicycle frame
D490027
PDF下載

專利 D486424

Bicycle frame
D486424
PDF下載

專利 D479817

Bicycle frame
D479817
PDF下載

專利 D479495

Bicycle fr...
D479495
PDF下載

專利 D478299

Bicycle frame
D478299
PDF下載

專利 D474252

Exercise b...
D474252
PDF下載

專利 D473274

Stationary...
D473274
PDF下載

專利 D467203

Recumbent ...
D467203
PDF下載

專利 D465818

Stationary...
D465818
PDF下載

專利 D460932

Bicycle frame
D460932
PDF下載

專利 D460794

Exercise b...
D460794
PDF下載

專利 D460026

Bicycle frame
D460026
PDF下載

專利 D451433

Mountain b...
D451433
PDF下載

專利 D449798

Mountain b...
D449798
PDF下載

專利 D445364

Bicycle frame
D445364
PDF下載

專利 D441322

Waved fram...
D441322
PDF下載

專利 D435490

Recumbent ...
D435490
PDF下載

專利 D435234

Bicycle frame
D435234
PDF下載

專利 D430509

Pedalless ...
D430509
PDF下載

專利 D430070

Bicycle fr...
D430070
PDF下載

專利 D428830

Recumbent ...
D428830
PDF下載

專利 D424478

Bicycle frame
D424478
PDF下載

專利 D420310

Bicycle frame
D420310
PDF下載

專利 D419923

Bicycle fr...
D419923
PDF下載

專利 D419492

Bicycle frame
D419492
PDF下載

專利 D419111

Bicycle frame
D419111
PDF下載

專利 D419110

Design for...
D419110
PDF下載

專利 D418778

Bicycle frame
D418778
PDF下載

專利 D415071

Bicycle frame
D415071
PDF下載

專利 D412465

Bicycle frame
D412465
PDF下載

專利 D411970

Recumbent ...
D411970
PDF下載

專利 D411145

Bicycle frame
D411145
PDF下載

專利 D410217

Bicycle frame
D410217
PDF下載

專利 D407767

Upright ex...
D407767
PDF下載

專利 D405030

Bicycle frame
D405030
PDF下載

專利 D402926

Bicycle fr...
D402926
PDF下載

專利 D401187

Bicycle frame
D401187
PDF下載

專利 D398563

Combined b...
D398563
PDF下載

專利 D398267

Bicycle frame
D398267
PDF下載

專利 D396831

Bicycle frame
D396831
PDF下載

專利 D396670

Bicycle frame
D396670
PDF下載

專利 D393432

Bicycle frame
D393432
PDF下載

專利 D392602

Bicycle frame
D392602
PDF下載

專利 D391222

Bicycle ac...
D391222
PDF下載

專利 D390506

Bicycle fr...
D390506
PDF下載

專利 D390505

Bicycle fr...
D390505
PDF下載

專利 D389787

Road bicyc...
D389787
PDF下載

專利 D388025

Bicycle frame
D388025
PDF下載

專利 D386451

Bicycle frame
D386451
PDF下載

專利 D385229

Bicycle frame
D385229
PDF下載

專利 D385228

Bicycle frame
D385228
PDF下載

專利 D384307

Bicycle frame
D384307
PDF下載

專利 D383100

Bicycle frame
D383100
PDF下載

專利 D381941

Bicycle frame
D381941
PDF下載

專利 D380990

Bicycle frame
D380990
PDF下載

專利 D379949

Bicycle frame
D379949
PDF下載

專利 D379163

Bicycle frame
D379163
PDF下載

專利 D377465

Bicycle frame
D377465
PDF下載

專利 D377464

Bicycle frame
D377464
PDF下載

專利 D376775

Decorative...
D376775
PDF下載

專利 D376123

Set of bic...
D376123
PDF下載

專利 D375282

Aerodynami...
D375282
PDF下載

專利 D372002

Bicycle frame
D372002
PDF下載

專利 D371093

Bicycle frame
D371093
PDF下載

專利 D370647

Bicycle fr...
D370647
PDF下載

專利 D370457

Bicycle fr...
D370457
PDF下載

專利 D370436

Bicycle frame
D370436
PDF下載

專利 D369574

Low rider ...
D369574
PDF下載

專利 D369330

Bicycle frame
D369330
PDF下載

專利 D368880

Rear suspe...
D368880
PDF下載

專利 D368679

Bicycle frame
D368679
PDF下載

專利 D368678

Bicycle frame
D368678
PDF下載

專利 D364365

Bicycle frame
D364365
PDF下載

專利 D359935

Bicycle frame
D359935
PDF下載

專利 D357651

Bicycle frame
D357651
PDF下載

專利 D357437

Two-wheel ...
D357437
PDF下載

專利 D354723

Bicycle frame
D354723
PDF下載

專利 D349869

Bicycle frame
D349869
PDF下載

專利 D348859

Frame for ...
D348859
PDF下載

專利 D347603

Bicycle frame
D347603
PDF下載

專利 D343600

Bicycle frame
D343600
PDF下載

專利 D343598

Bicycle frame
D343598
PDF下載

專利 D343147

Bicycle frame
D343147
PDF下載

專利 D340011

Frame of b...
D340011
PDF下載

專利 D337974

Lug for a ...
D337974
PDF下載

專利 D335640

Bicycle frame
D335640
PDF下載

專利 D331898

Bicycle frame
D331898
PDF下載

專利 D331378

Lug for a ...
D331378
PDF下載

專利 D330877

Lug for a ...
D330877
PDF下載

專利 D330354

Bicycle frame
D330354
PDF下載

專利 D330353

Combined b...
D330353
PDF下載

專利 D329409

Bicycle frame
D329409
PDF下載

專利 D327040

Recumbent ...
D327040
PDF下載

專利 D325010

Frame of e...
D325010
PDF下載

專利 D325008

Bicycle frame
D325008
PDF下載

專利 D324836

Bicycle frame
D324836
PDF下載

專利 D323477

All terrai...
D323477
PDF下載

專利 D321156

Bicycle frame
D321156
PDF下載

專利 D321155

Bicycle frame
D321155
PDF下載

專利 D320962

Bicycle frame
D320962
PDF下載

專利 D320585

Bicycle frame
D320585
PDF下載

專利 D312229

Combined b...
D312229
PDF下載

專利 D311508

Bicycle frame
D311508
PDF下載

專利 D308500

Bicycle frame
D308500
PDF下載

專利 D303777

Bicycle frame
D303777
PDF下載

專利 D301218

Recumbent ...
D301218
PDF下載

專利 D301130

Recumbent ...
D301130
PDF下載

專利 D292304

Bicycle er...
D292304
PDF下載

專利 D292074

Bicycle frame
D292074
PDF下載

專利 D290592

Bicycle frame
D290592
PDF下載

專利 D284646

Bicycle frame
D284646
PDF下載

專利 D278324

Bicycle frame
D278324
PDF下載

專利 D277744

Bicycle frame
D277744
PDF下載

專利 D265879

Cake bakin...
D265879
PDF下載

專利 D259482

Bicycle frame
D259482
PDF下載

專利 D254365

Unicycle f...
D254365
PDF下載

專利 D251185

Bicycle frame
D251185
PDF下載

專利 D244593

Bicycle frame
D244593
PDF下載

專利 D244266

Bicycle frame
D244266
PDF下載

專利 D243598

Bicycle frame
D243598
PDF下載

專利 D243165

Bicycle frame
D243165
PDF下載