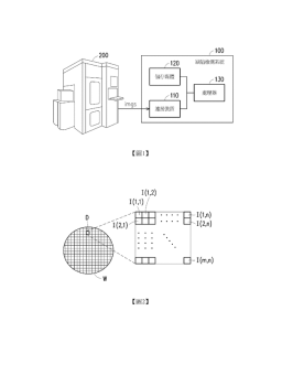
每月定時提供最新各國專利公報

半導體相關專利 (TW)

專利 M581692

紘宇科技股份有限公司
輕薄短小且具抗環境腐...
M581692
官網連結 PDF下載

專利 I665340

台灣積體電路製造股份有限公司
電鍍製程的檢測方法
I665340
官網連結 PDF下載

專利 I665425

新加坡商賽德吉視測私人有限公司
檢查半導體封裝的裝置及方法
I665425
官網連結 PDF下載

專利 I665426

美商克萊譚克公司
用於半導體晶圓檢驗及...
I665426
官網連結 PDF下載

專利 I665443

德律科技股份有限公司
自動光學檢測系統及其...
I665443
官網連結 PDF下載

專利 I665445

美商克萊譚克公司
光學晶粒至資料庫檢測
I665445
官網連結 PDF下載

專利 I665526

荷蘭商ASML荷蘭公司
電腦實施缺陷預測方法...
I665526
官網連結 PDF下載

專利 I665741

晶元光電股份有限公司
一種半導體封裝結構及...
I665741
官網連結 PDF下載

專利 I665749

南韓商相生技術有限公司
用於半導體或顯示系統...
I665749
官網連結 PDF下載

專利 I665774

矽品精密工業股份有限公司
電子封裝件及其製法
I665774
官網連結 PDF下載

專利 I665794

美商豪威科技股份有限公司
系統級封裝影像感測器
I665794
官網連結 PDF下載

專利 I664390

美商克萊譚克公司
用於堆疊晶圓之檢測和...
I664390
官網連結 PDF下載

專利 I664427

日商日本電產理德股份有限公司
接觸端子的維修方法及...
I664427
官網連結 PDF下載

專利 I664586

國立臺灣師範大學
透過瑕疵複數光場之透...
I664586
官網連結 PDF下載

專利 I664642

全研科技有限公司
高精度線性馬達一次對位平台
I664642
官網連結 PDF下載

專利 I664664

荷蘭商ASML荷蘭公司
微影製程和設備及檢測...
I664664
官網連結 PDF下載

專利 I664683

佳邦科技股份有限公司
半導體封裝件的製造方法
I664683
官網連結 PDF下載

專利 I664685

台灣積體電路製造股份有限公司
具有無矽基底的中介層...
I664685
官網連結 PDF下載

專利 I664703

美商美光科技公司
具有記憶體封裝下之控...
I664703
官網連結 PDF下載

專利 I664708

戴卡科技有限公司
標記一半導體封裝之方法
I664708
官網連結 PDF下載

專利 I664756

新加坡商格羅方德半導體私人有限公司
用於MRAM裝置之磁...
I664756
官網連結 PDF下載

專利 I663398

致茂電子股份有限公司
可產生差異下壓力之模...
I663398
官網連結 PDF下載

專利 I663416

財團法人工業技術研究院
光學測距方法及光相位...
I663416
官網連結 PDF下載

專利 I663486

荷蘭商ASML荷蘭公司
量測方法、器件製造方...
I663486
官網連結 PDF下載

專利 I663692

菱生精密工業股份有限公司
壓力感測器封裝結構
I663692
官網連結 PDF下載

專利 I663699

台灣積體電路製造股份有限公司
半導體封裝及其形成方法
I663699
官網連結 PDF下載

專利 I663702

聯發科技股份有限公司
半導體封裝組件
I663702
官網連結 PDF下載

專利 I663721

美商豪威科技股份有限公司
晶片級影像感測器封裝...
I663721
官網連結 PDF下載

專利 I663781

國家中山科學研究院
多頻天線封裝結構
I663781
官網連結 PDF下載

專利 I663882

英國商席瑞斯邏輯國際半導體有限公司
製造微機電系統傳感器...
I663882
官網連結 PDF下載

專利 I663899

朴京花
半導體封裝回收利用方...
I663899
官網連結 PDF下載

專利 I662273

友達晶材股份有限公司
缺陷檢測設備及缺陷檢測方法
I662273
官網連結 PDF下載

專利 I662358

台灣積體電路製造股份有限公司
缺陷檢測方法與缺陷檢測系統
I662358
官網連結 PDF下載

專利 I662381

ASML荷蘭公司
用於組態參數判定製程...
I662381
官網連結 PDF下載

專利 I662383

荷蘭商ASML荷蘭公司
用於檢測由微影程序製...
I662383
官網連結 PDF下載

專利 I662631

新加坡商史達晶片有限公司
在扇出晶圓級晶片尺寸...
I662631
官網連結 PDF下載

專利 I662632

新加坡商史達晶片有限公司
形成支撐層於薄扇出晶...
I662632
官網連結 PDF下載

專利 I662658

台灣積體電路製造股份有限公司
積體電路封裝基板、半...
I662658
官網連結 PDF下載

專利 I662661

三星電機股份有限公司
扇出型半導體封裝
I662661
官網連結 PDF下載

專利 I662665

美商高通公司
包含雙向熱電冷卻器的...
I662665
官網連結 PDF下載

專利 M579378

萬潤科技股份有限公司
晶圓薄膜量測裝置及量測系統
M579378
官網連結 PDF下載

專利 M579384

億光電子工業股份有限公司
半導體封裝結構、發光...
M579384
官網連結 PDF下載

專利 I661011

日商櫻花彩色筆股份有限公司
使用無機物質作為變色...
I661011
官網連結 PDF下載

專利 I661189

興城科技股份有限公司
薄膜電晶體面板缺陷之...
I661189
官網連結 PDF下載

專利 I661196

美商恩特葛瑞斯股份有限公司
不含液體樣品阱及量測...
I661196
官網連結 PDF下載

專利 I661213

富士軟片股份有限公司
放射線檢測裝置及放射...
I661213
官網連結 PDF下載

專利 I661515

美商微晶片科技公司
晶圓級封裝及方法
I661515
官網連結 PDF下載

專利 I661525

南韓商三星電機股份有限公司
半導體封裝及其製造方法
I661525
官網連結 PDF下載

專利 I661532

美商高通公司
包括嵌入式層疊封裝(...
I661532
官網連結 PDF下載

專利 I661585

財團法人工業技術研究院
發光二極體封裝
I661585
官網連結 PDF下載

專利 M578906

莊凱安
馬達外殼的封裝結構
M578906
官網連結 PDF下載

專利 201931477

美商應用材料股份有限公司
用於封裝半導體晶片之...
201931477
官網連結 PDF下載

專利 201923380

中國大陸商深圳幀觀德芯科技有限公司
具有基於MEMS開關...
201923380
官網連結 PDF下載

專利 201923449

荷蘭商ASML荷蘭公司
圖案化裝置、用於圖案...
201923449
官網連結 PDF下載

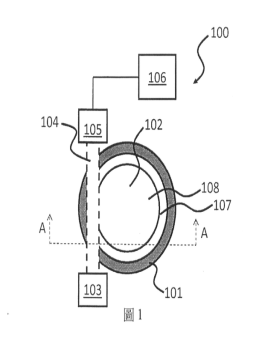
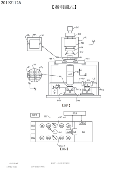
專利 201921126

荷蘭商ASML荷蘭公司
用於量測在半導體基板...
201921126
官網連結 PDF下載

專利 201921621

金學模
改善視覺外觀性及加工...
201921621
官網連結 PDF下載

半導體相關專利 (US)

專利 10354976

Dies-on-pa...
10354976
PDF下載

專利 10352767

Color meas...
10352767
PDF下載

專利 RE47504

Light emit...
RE47504
PDF下載

專利 10345963

Method and...
10345963
PDF下載

專利 10345175

Pressure m...
10345175
PDF下載

專利 10333497

Calibratio...
10333497
PDF下載

專利 10332842

Semiconduc...
10332842
PDF下載

專利 10332623

Medicament...
10332623
PDF下載

專利 10325625

Motion det...
10325625
PDF下載

專利 10319670

Package in...
10319670
PDF下載

專利 10319619

Equipment ...
10319619
PDF下載

專利 10312232

Semiconduc...
10312232
PDF下載

專利 10311925

Apparatus ...
10311925
PDF下載

專利 10302636

Detection ...
10302636
PDF下載

專利 10298860

Radiation ...
10298860
PDF下載

專利 10297276

Systems an...
10297276
PDF下載

專利 10291283

Tunable ra...
10291283
PDF下載

專利 10288607

Detection ...
10288607
PDF下載

專利 10282028

Method and...
10282028
PDF下載

專利 10278765

System and...
10278765
PDF下載

專利 10276013

Threat det...
10276013
PDF下載

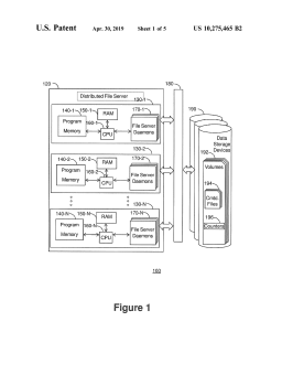
專利 10275465

Method and...
10275465
PDF下載

專利 10269685

Interconne...
10269685
PDF下載

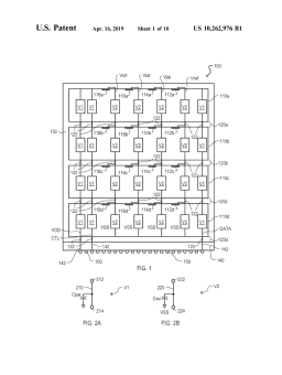
專利 10262976

Package in...
10262976
PDF下載

專利 10262975

Package in...
10262975
PDF下載

專利 10261118

On-demand ...
10261118
PDF下載

專利 10251272

Microelect...
10251272
PDF下載

專利 10250624

Method and...
10250624
PDF下載

專利 10248826

Fingerprin...
10248826
PDF下載

專利 10245119

Signal tag...
10245119
PDF下載

專利 10228284

Devices an...
10228284
PDF下載

專利 10213257

Devices an...
10213257
PDF下載

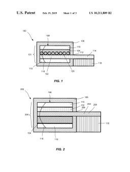
專利 10211809

Devices an...
10211809
PDF下載

專利 10204890

Substrate ...
10204890
PDF下載

專利 10199111

Memory dev...
10199111
PDF下載

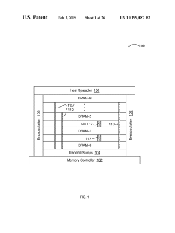
專利 10199087

Signal tim...
10199087
PDF下載

專利 10196700

Multivolum...
10196700
PDF下載

專利 10193913

Joint anom...
10193913
PDF下載

專利 10193307

Tensile st...
10193307
PDF下載

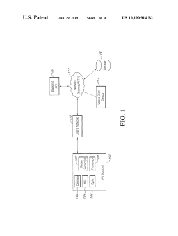
專利 10190914

Motion det...
10190914
PDF下載

專利 10190158

Systems an...
10190158
PDF下載

專利 10188905

System for...
10188905
PDF下載

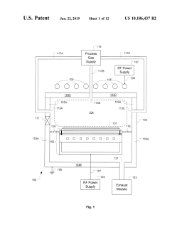
專利 10186437

Substrate ...
10186437
PDF下載

專利 10184845

Methods an...
10184845
PDF下載

專利 10181915

Phase meas...
10181915
PDF下載

專利 10180373

Opto elect...
10180373
PDF下載

專利 10179729

Hermetic e...
10179729
PDF下載

專利 10177121

Package in...
10177121
PDF下載

專利 10177111

Reduction ...
10177111
PDF下載

專利 10173893

Methods an...
10173893
PDF下載