每月定時提供最新各國專利公報

花鼓相關專利 (TW)

專利 I656986

喬紳股份有限公司
自行車花轂結構
I656986
官網連結 PDF下載

專利 M576991

莊浩于
能產生加壓空氣的輪轂
M576991
官網連結 PDF下載

專利 I655110

德安百世實業股份有限公司
具空轉時棘齒面脫開效...
I655110
官網連結 PDF下載

專利 I653160

西班牙商羅特技術組件公司
飛輪機構
I653160
官網連結 PDF下載

專利 I651234

銘穗精密工業有限公司
用於花鼓安裝的鎖附結構
I651234
官網連結 PDF下載

專利 I649234

金福成
用於自行車的齒輪轂
I649234
官網連結 PDF下載

專利 M573699

崑藤工業股份有限公司
輪轂裝置
M573699
官網連結 PDF下載

專利 I648176

黃人和
花轂棘輪驅動結構
I648176
官網連結 PDF下載

專利 I647128

德安百世實業股份有限公司
磁力控制切換式花轂
I647128
官網連結 PDF下載

專利 I644810

張國經
後花轂組合
I644810
官網連結 PDF下載

專利 M571320

謝宜倉
自行車輪轂心軸結構
M571320
官網連結 PDF下載

專利 I642561

銘穗精密工業有限公司
具軸心校正的輪轂組
I642561
官網連結 PDF下載

專利 I641510

島野股份有限公司
車輪固定軸件及自行車...
I641510
官網連結 PDF下載

專利 I638728

日商島野股份有限公司
自行車輪轂及自行車車輪總成
I638728
官網連結 PDF下載

專利 I638729

喬紳股份有限公司
無聲花轂結構
I638729
官網連結 PDF下載

專利 I638730

鑫元鴻實業股份有限公司
自行車花轂棘輪筒的組...
I638730
官網連結 PDF下載

專利 I638732

日商島野股份有限公司
自行車輪轂總成
I638732
官網連結 PDF下載

專利 M568214

鑫元鴻實業股份有限公司
自行車花轂棘輪座結構
M568214
官網連結 PDF下載

專利 M568215

鑫元鴻實業股份有限公司
自行車花轂的坎合式齒環結構
M568215
官網連結 PDF下載

專利 M567703

天勤精機股份有限公司
花鼓以及自行車傳動裝置
M567703
官網連結 PDF下載

專利 I635970

喬紳股份有限公司
花轂棘齒座補強結構
I635970
官網連結 PDF下載

專利 I635971

修克 威廉 布列爾
配合花轂組件結合之棘...
I635971
官網連結 PDF下載

專利 M566666

黃人和
花轂棘輪驅動結構
M566666
官網連結 PDF下載

專利 M565647

金聯富興業有限公司
自行車花轂
M565647
官網連結 PDF下載

專利 I631023

鑫元鴻實業股份有限公司
後輪花轂棘輪筒組件
I631023
官網連結 PDF下載

專利 M563969

余永元
輪組的花鼓與輻條結合結構
M563969
官網連結 PDF下載

專利 M563971

張國經
後花轂組合
M563971
官網連結 PDF下載

專利 M562779

德安百世實業股份有限公司
具空轉時棘齒面脫開效...
M562779
官網連結 PDF下載

專利 M562780

銘穗精密工業有限公司
可快速拆卸維修的花鼓總成
M562780
官網連結 PDF下載

專利 I624382

島野股份有限公司
自行車輪轂總成
I624382
官網連結 PDF下載

專利 M560405

台灣嘉利傳動有限公司
具離合機構的自行車輪轂
M560405
官網連結 PDF下載

專利 M558191

鑫元鴻實業股份有限公司
自行車輪轂軸結構
M558191
官網連結 PDF下載

專利 M558192

鑫元鴻實業股份有限公司
自行車花轂內部機構的...
M558192
官網連結 PDF下載

專利 I618641

遠鋐工業股份有限公司
無聲花轂結構
I618641
官網連結 PDF下載

專利 M557207

鑫元鴻實業股份有限公司
自行車花轂筒軸組設結構
M557207
官網連結 PDF下載

專利 I616357

鑫元鴻實業股份有限公司
具間隙補償效果的花轂結構
I616357
官網連結 PDF下載

專利 M556210

野寶科技股份有限公司
自行車花轂
M556210
官網連結 PDF下載

專利 I614150

島野股份有限公司
自行車輪轂
I614150
官網連結 PDF下載

專利 I608944

威菩有限公司
自行車花鼓
I608944
官網連結 PDF下載

專利 I604969

島野股份有限公司
自行車輪轂及自行車輪
I604969
官網連結 PDF下載

專利 I603859

喬紳股份有限公司
密齒式之花轂棘輪組合結構
I603859
官網連結 PDF下載

專利 M551135

洪錦松
花鼓及包含其之輪組
M551135
官網連結 PDF下載

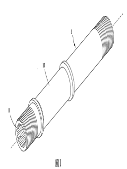
專利 D186200

蔡杜淑姿
自行車花轂心軸之部分
D186200
官網連結 PDF下載

專利 M549166

愷樂企業股份有限公司
花轂殼
M549166
官網連結 PDF下載

專利 D185420

浚宏精密股份有限公司
自行車發電輪轂的軛爪
D185420
官網連結 PDF下載

專利 M545700

台灣嘉利傳動有限公司
一體式離合器花轂
M545700
官網連結 PDF下載

專利 I590958

侯天旺
具離合機構的自行車輪轂
I590958
官網連結 PDF下載

專利 M544422

鑫元鴻實業股份有限公司
具間隙補償效果的花轂結構
M544422
官網連結 PDF下載

專利 M544423

蔡杜淑姿
花轂及其心軸
M544423
官網連結 PDF下載

專利 M543792

侯天旺
離合式後輪轂結構
M543792
官網連結 PDF下載

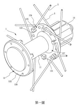
專利 201912437

美商速聯有限責任公司
自行車輪總成及輪轂總成
201912437
官網連結 PDF下載

專利 201912439

拓肯興業股份有限公司
自行車之花轂
201912439
官網連結 PDF下載

專利 201910149

瑞士商DT瑞士公司
特別適用於自行車的輪轂
201910149
官網連結 PDF下載

專利 201910150

瑞士商DT瑞士公司
特別適用於自行車的輪轂
201910150
官網連結 PDF下載

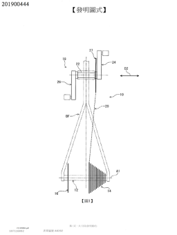
專利 201904779

日商島野股份有限公司
自行車用輪轂單元
201904779
官網連結 PDF下載

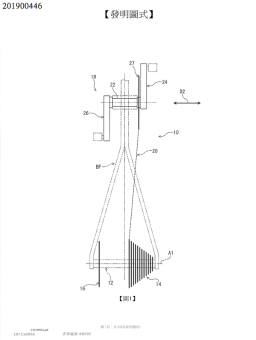
專利 201900444

日商島野股份有限公司
自行車輪轂總成
201900444
官網連結 PDF下載

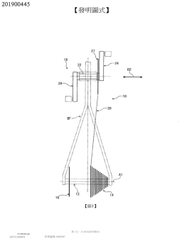
專利 201900445

日商島野股份有限公司
自行車輪轂總成
201900445
官網連結 PDF下載

專利 201900446

日商島野股份有限公司
自行車後輪轂總成
201900446
官網連結 PDF下載

專利 201900447

日商島野股份有限公司
自行車輪轂總成
201900447
官網連結 PDF下載

專利 201900448

日商島野股份有限公司
自行車輪轂總成及自行...
201900448
官網連結 PDF下載

專利 201834879

雅瑟斯工業股份有限公司
自行車車輪轂
201834879
官網連結 PDF下載

專利 201823058

日商島野股份有限公司
自行車用輪轂
201823058
官網連結 PDF下載

專利 201823099

日商島野股份有限公司
自行車用內裝變速輪轂
201823099
官網連結 PDF下載

專利 201813833

島野股份有限公司
自行車輪轂總成
201813833
官網連結 PDF下載

專利 201813834

島野股份有限公司
輪轂組件裝設單元、自...
201813834
官網連結 PDF下載

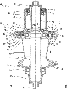
專利 201808676

瑞士商DT瑞士公司
特別是用於自行車的輪轂
201808676
官網連結 PDF下載

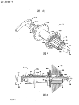
專利 201808677

日商島野股份有限公司
自行車輪轂
201808677
官網連結 PDF下載

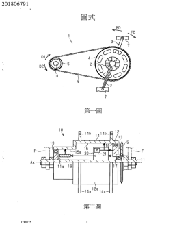
專利 201806791

島野股份有限公司
自行車輪轂總成及自行...
201806791
官網連結 PDF下載

專利 201806792

島野股份有限公司
自行車輪轂總成
201806792
官網連結 PDF下載

專利 201800274

尤仁泉
內拉式轂耳的花轂
201800274
官網連結 PDF下載

專利 201739635

DT瑞士公司
輪轂和車輪(二)
201739635
官網連結 PDF下載

專利 201739636

DT瑞士公司
輪轂和車輪(一)
201739636
官網連結 PDF下載

專利 201738105

嘉寶費博萊特克有限公司
包含具多邊形外廓的輪...
201738105
官網連結 PDF下載

專利 201736158

包水生
能切換至空轉狀態以供...
201736158
官網連結 PDF下載

專利 201731710

島野股份有限公司
自行車輪轂總成及自行...
201731710
官網連結 PDF下載

專利 201726444

坎帕克諾羅公司
用於自行車車輪的輪轂
201726444
官網連結 PDF下載

花鼓相關專利 (US)

專利 10308065

Devices an...
10308065
PDF下載

專利 10293639

Bicycle hu...
10293639
PDF下載

專利 10286726

Hub, in pa...
10286726
PDF下載

專利 10226997

Hub motor ...
10226997
PDF下載

專利 10189306

Rear hub a...
10189306
PDF下載

專利 10189305

Bicycle fr...
10189305
PDF下載

專利 10189304

Hub for a ...
10189304
PDF下載

專利 10150332

Spoke comp...
10150332
PDF下載

專利 10119579

Cassette d...
10119579
PDF下載

專利 10113597

Cassette d...
10113597
PDF下載

專利 D830264

Single spe...
D830264
PDF下載

專利 10093129

Hub for a ...
10093129
PDF下載

專利 10076930

Bicycle hu...
10076930
PDF下載

專利 10011322

Wheel hub ...
10011322
PDF下載

專利 10011320

Wheel hub ...
10011320
PDF下載

專利 9944119

Hub assemb...
9944119
PDF下載

專利 D813779

Smile shap...
D813779
PDF下載

專利 D813778

Multi spee...
D813778
PDF下載

專利 9873287

Bicycle hu...
9873287
PDF下載

專利 9855794

Bicycle hu...
9855794
PDF下載

專利 9822865

Bicycle hu...
9822865
PDF下載

專利 9815322

Bicycle hu...
9815322
PDF下載

專利 D801249

Hub for mo...
D801249
PDF下載

專利 9751362

Wheel secu...
9751362
PDF下載

專利 9745018

Wheel hub ...
9745018
PDF下載

專利 9731550

Bicycle hu...
9731550
PDF下載

專利 9707801

Bicycle hu...
9707801
PDF下載

專利 9676233

Bicycle hu...
9676233
PDF下載

專利 9669657

Bidirectio...
9669657
PDF下載

專利 9662938

Freewheel hub
9662938
PDF下載

專利 9662931

Vehicle wh...
9662931
PDF下載

專利 9656719

Axle arran...
9656719
PDF下載

專利 9649880

Bicycle hu...
9649880
PDF下載

專利 9638285

Hub motor ...
9638285
PDF下載

專利 9610802

Bicycle wh...
9610802
PDF下載

專利 9604499

Compressio...
9604499
PDF下載

專利 9604495

Hub for a ...
9604495
PDF下載

專利 9599526

Torque-mea...
9599526
PDF下載

專利 9586639

Bicycle hu...
9586639
PDF下載

專利 D779386

Hub for bi...
D779386
PDF下載

專利 9502935

Hub shell ...
9502935
PDF下載

專利 9469157

Bicycle fr...
9469157
PDF下載

專利 D768044

Bicycle hub
D768044
PDF下載

專利 D766801

Bicycle hub
D766801
PDF下載

專利 D766800

Bicycle re...
D766800
PDF下載

專利 D766799

Bicycle re...
D766799
PDF下載

專利 9446626

Vehicle wh...
9446626
PDF下載

專利 9421818

Bicycle hu...
9421818
PDF下載

專利 9415634

Bicycle hu...
9415634
PDF下載

專利 9393832

Wheel of t...
9393832
PDF下載