每月定時提供最新各國專利公報

輪圈相關專利 (TW)

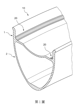
專利 I659869

義大利商坎帕克諾羅公司
自行車輪的輪圈和相應...
I659869
官網連結 PDF下載

專利 M578241

綵琪有限公司
無內胎車圈改良結構
M578241
官網連結 PDF下載

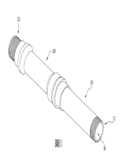
專利 M578243

李忠哲
自行車輪軸
M578243
官網連結 PDF下載

專利 D197266

銘穗精密工業有限公司
車輪之部分
D197266
官網連結 PDF下載

專利 I657941

美商史比塞自行車組件公司
加強式自行車輪圈
I657941
官網連結 PDF下載

專利 I656985

李世鵬
複合材輪圈
I656985
官網連結 PDF下載

專利 D196385

陳建璋
輪圈
D196385
官網連結 PDF下載

專利 D196386

陳建璋
輪圈
D196386
官網連結 PDF下載

專利 D196387

陳建璋
輪圈
D196387
官網連結 PDF下載

專利 I653158

陳建璋
自行車輪組
I653158
官網連結 PDF下載

專利 I653159

飛特立工業有限公司
自行車輪圈及對該輪圈...
I653159
官網連結 PDF下載

專利 M575393

陳建璋
自行車輪組
M575393
官網連結 PDF下載

專利 M574971

鑫元鴻實業股份有限公司
自行車輪框結構
M574971
官網連結 PDF下載

專利 M574972

展輪工業股份有限公司
自行車防脫胎之輪圈結構
M574972
官網連結 PDF下載

專利 I651216

展輪工業股份有限公司
自行車碳纖輪圈結構
I651216
官網連結 PDF下載

專利 I644739

見春機械工業有限公司
全自動輪圈成型機結構
I644739
官網連結 PDF下載

專利 M571320

謝宜倉
自行車輪轂心軸結構
M571320
官網連結 PDF下載

專利 I642562

瑩信工業股份有限公司
複合材輪圈之製法與複...
I642562
官網連結 PDF下載

專利 I641510

島野股份有限公司
車輪固定軸件及自行車...
I641510
官網連結 PDF下載

專利 I641511

亞獵士科技股份有限公司
碳纖維輪圈之製造方法...
I641511
官網連結 PDF下載

專利 I641512

德安百世實業股份有限公司
碳纖維輪框幅條
I641512
官網連結 PDF下載

專利 I638728

日商島野股份有限公司
自行車輪轂及自行車車輪總成
I638728
官網連結 PDF下載

專利 I638732

日商島野股份有限公司
自行車輪轂總成
I638732
官網連結 PDF下載

專利 I635969

國立成功大學
車輛輪圈標籤的自動黏...
I635969
官網連結 PDF下載

專利 I633020

巨大機械工業股份有限公司
碳纖維輪圈及其製造方法
I633020
官網連結 PDF下載

專利 M565134

複邦實業有限公司
複合材質輪圈的強化結構
M565134
官網連結 PDF下載

專利 I631024

卡尤科斯牛仔有限公司
具有單一側體結構之自...
I631024
官網連結 PDF下載

專利 M563969

余永元
輪組的花鼓與輻條結合結構
M563969
官網連結 PDF下載

專利 M563360

金聯富興業有限公司
自行車輪圈
M563360
官網連結 PDF下載

專利 I627056

嘉寶費博萊特克有限公司
一種製作一輪圈的方法...
I627056
官網連結 PDF下載

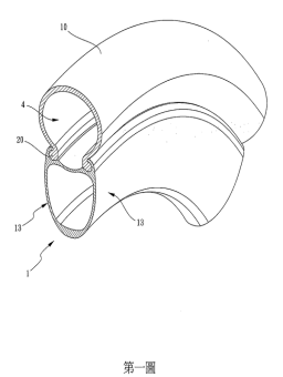
專利 I627077

坎帕克諾羅公司
自行車輪圈和相應的自...
I627077
官網連結 PDF下載

專利 I626174

飛特立工業有限公司
用於自行車之輪圈及該...
I626174
官網連結 PDF下載

專利 I626175

德安百世實業股份有限公司
碳纖維輪圈輻條
I626175
官網連結 PDF下載

專利 I626176

亞獵士科技股份有限公司
複合式自行車輪圈結構
I626176
官網連結 PDF下載

專利 I624382

島野股份有限公司
自行車輪轂總成
I624382
官網連結 PDF下載

專利 M560405

台灣嘉利傳動有限公司
具離合機構的自行車輪轂
M560405
官網連結 PDF下載

專利 I623445

速聯有限責任公司
具有內突起部的自行車...
I623445
官網連結 PDF下載

專利 I623447

飛特立工業有限公司
用於自行車之輪圈及該...
I623447
官網連結 PDF下載

專利 D190107

亞獵士科技股份有限公司
自行車輪圈
D190107
官網連結 PDF下載

專利 I622519

張國經
慣性輪組及包括該慣性...
I622519
官網連結 PDF下載

專利 M558191

鑫元鴻實業股份有限公司
自行車輪轂軸結構
M558191
官網連結 PDF下載

專利 I618335

修平學校財團法人修平科技大學
一體成型自發電車輪
I618335
官網連結 PDF下載

專利 I615289

坎帕克諾羅公司
自行車輪和相關製造方法
I615289
官網連結 PDF下載

專利 I615290

亞獵士科技股份有限公司
碳纖維輪圈強化結構
I615290
官網連結 PDF下載

專利 I614150

島野股份有限公司
自行車輪轂
I614150
官網連結 PDF下載

專利 I614151

貝克佛提發展責任有限公司
車輪總成
I614151
官網連結 PDF下載

專利 I613100

銘穗精密工業有限公司
自行車輪框
I613100
官網連結 PDF下載

專利 I611950

島野股份有限公司
自行車用車輪固定機構
I611950
官網連結 PDF下載

專利 I610828

巨大機械工業股份有限公司
自行車車輪輻條結構及...
I610828
官網連結 PDF下載

專利 D187151

趙國亨
自行車輪圈輻條
D187151
官網連結 PDF下載

專利 I607894

紹凱國際股份有限公司
複合碳纖維輪框之製造方法
I607894
官網連結 PDF下載

專利 I597188

正新橡膠工業股份有限公司
無內胎之自行車輪圈結構
I597188
官網連結 PDF下載

專利 I590958

侯天旺
具離合機構的自行車輪轂
I590958
官網連結 PDF下載

專利 201917033

日商島野股份有限公司
自行車用輪轂單元及自...
201917033
官網連結 PDF下載

專利 201912437

美商速聯有限責任公司
自行車輪總成及輪轂總成
201912437
官網連結 PDF下載

專利 201906746

宏恩材料科技有限公司
輪框及輪框之製作方法
201906746
官網連結 PDF下載

專利 201904777

馬來西亞商島野馬來西亞配件廠有限公司
自行車輪輻配重組件,...
201904777
官網連結 PDF下載

專利 201900444

日商島野股份有限公司
自行車輪轂總成
201900444
官網連結 PDF下載

專利 201900445

日商島野股份有限公司
自行車輪轂總成
201900445
官網連結 PDF下載

專利 201900447

日商島野股份有限公司
自行車輪轂總成
201900447
官網連結 PDF下載

專利 201900448

日商島野股份有限公司
自行車輪轂總成及自行...
201900448
官網連結 PDF下載

專利 201834879

雅瑟斯工業股份有限公司
自行車車輪轂
201834879
官網連結 PDF下載

專利 201832948

日商島野股份有限公司
自行車輪圈、自行車輪...
201832948
官網連結 PDF下載

專利 201827257

日商島野股份有限公司
自行車輪圈
201827257
官網連結 PDF下載

專利 201819210

法商梅維克簡易股份有限公司
用於車輪的輻條和用於...
201819210
官網連結 PDF下載

專利 201813833

島野股份有限公司
自行車輪轂總成
201813833
官網連結 PDF下載

專利 201811581

美商野跡自行車營業公司
具有凹槽的輪圈及輪圈...
201811581
官網連結 PDF下載

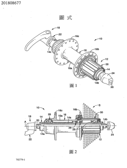
專利 201808677

日商島野股份有限公司
自行車輪轂
201808677
官網連結 PDF下載

專利 201806736

嘉寶費博萊特克有限公司
具有結合到輪圈側邊的...
201806736
官網連結 PDF下載

專利 201806791

島野股份有限公司
自行車輪轂總成及自行...
201806791
官網連結 PDF下載

專利 201806792

島野股份有限公司
自行車輪轂總成
201806792
官網連結 PDF下載

專利 201805183

鄭吉富
碳纖維一體成型或部份...
201805183
官網連結 PDF下載

專利 201805186

邱金和
車輪結構
201805186
官網連結 PDF下載

專利 201803742

嘉寶費博萊特克有限公司
輪圈的張力優化製法
201803742
官網連結 PDF下載

專利 201803743

島野股份有限公司
自行車車輪固定裝置
201803743
官網連結 PDF下載

專利 201801954

陳富勝
輪圈校正機
201801954
官網連結 PDF下載

專利 201742762

島野股份有限公司
自行車用輪圈
201742762
官網連結 PDF下載

專利 201742763

CIP服務股份有限公司
具有高穩定性之一體射...
201742763
官網連結 PDF下載

輪圈相關專利 (US)

專利 10272718

Road tubel...
10272718
PDF下載

專利 D846471

Bicycle wheel
D846471
PDF下載

專利 10266003

Wheel and ...
10266003
PDF下載

專利 10252568

Bicycle wh...
10252568
PDF下載

專利 10232666

Device for...
10232666
PDF下載

專利 10214051

Rear wheel...
10214051
PDF下載

專利 10214048

Bicycle wheel
10214048
PDF下載

專利 10202001

Quick rele...
10202001
PDF下載

專利 10201999

Method of ...
10201999
PDF下載

專利 10201998

Wheel with...
10201998
PDF下載

專利 10189305

Bicycle fr...
10189305
PDF下載

專利 10173463

Motorized ...
10173463
PDF下載

專利 10160030

Cassette a...
10160030
PDF下載

專利 10155565

Constructi...
10155565
PDF下載

專利 10144247

Wheel with...
10144247
PDF下載

專利 10137728

Aerodynami...
10137728
PDF下載

專利 10131181

Wheel with...
10131181
PDF下載

專利 10124626

Wheel asse...
10124626
PDF下載

專利 10118439

Wheel havi...
10118439
PDF下載

專利 10112439

Vehicle wh...
10112439
PDF下載

專利 D830264

Single spe...
D830264
PDF下載

專利 10093129

Hub for a ...
10093129
PDF下載

專利 10093127

Wheel and ...
10093127
PDF下載

專利 10076929

Bicycle ha...
10076929
PDF下載

專利 10065451

Driving wh...
10065451
PDF下載

專利 10065450

Cycle whee...
10065450
PDF下載

專利 10059395

Bicycle tr...
10059395
PDF下載

專利 10059147

Self-locki...
10059147
PDF下載

專利 10059146

Wheel with...
10059146
PDF下載

專利 10052908

Bicycle wheel
10052908
PDF下載

專利 10046596

Image boar...
10046596
PDF下載

專利 10029511

Wheel and ...
10029511
PDF下載

專利 10011322

Wheel hub ...
10011322
PDF下載

專利 10011320

Wheel hub ...
10011320
PDF下載

專利 10005317

Devices an...
10005317
PDF下載

專利 9994071

Bicycle wh...
9994071
PDF下載

專利 9969213

Ring gear ...
9969213
PDF下載

專利 9969209

Molded whe...
9969209
PDF下載

專利 9962991

Force dist...
9962991
PDF下載

專利 9956818

Method for...
9956818
PDF下載

專利 9950561

Bicycle ri...
9950561
PDF下載

專利 9944349

Wheel spok...
9944349
PDF下載

專利 9944114

Bicycle wheel
9944114
PDF下載

專利 D813779

Smile shap...
D813779
PDF下載

專利 D813778

Multi spee...
D813778
PDF下載

專利 D813777

Spokes for...
D813777
PDF下載

專利 9925828

Bicycle wh...
9925828
PDF下載

專利 9925826

Force dist...
9925826
PDF下載

專利 9915306

Rotor cove...
9915306
PDF下載

專利 D810650

User inter...
D810650
PDF下載