每月定時提供最新各國專利公報

通訊類相關專利 (TW)

專利 D198912

華碩電腦股份有限公司
可攜式電腦
D198912
官網連結 PDF下載

專利 D198913

新加坡商雷蛇(亞太)私人有限公司
鍵盤
D198913
官網連結 PDF下載

專利 I667551

荷蘭商ASML荷蘭公司
用於最佳化微影設備或...
I667551
官網連結 PDF下載

專利 I667557

由田新技股份有限公司
影像分析儀表資訊之裝...
I667557
官網連結 PDF下載

專利 I667559

國立臺灣科技大學
自動化曲面誤差補償方...
I667559
官網連結 PDF下載

專利 I667566

三星電子股份有限公司
樞紐裝置以及樞紐裝置...
I667566
官網連結 PDF下載

專利 I667569

技嘉科技股份有限公司
電腦喚醒方法及電腦節電方法
I667569
官網連結 PDF下載

專利 I667581

中華電信股份有限公司
網址分類方法及其電腦...
I667581
官網連結 PDF下載

專利 I667589

關貿網路股份有限公司
資安聯防方法、系統、...
I667589
官網連結 PDF下載

專利 I667595

日商新力股份有限公司
輸入裝置、感測器、鍵...
I667595
官網連結 PDF下載

專利 I667597

德國商洛卡特股份有限公司
滑鼠按鍵響應機構
I667597
官網連結 PDF下載

專利 I667619

和冠股份有限公司
動態手寫驗證之方法與...
I667619
官網連結 PDF下載

專利 I667660

帆宣系統科技股份有限公司
智慧型預診斷與健康管...
I667660
官網連結 PDF下載

專利 I667677

群光電子股份有限公司
鍵盤
I667677
官網連結 PDF下載

專利 I667678

達方電子股份有限公司
鍵盤及其鍵帽結構製造方法
I667678
官網連結 PDF下載

專利 M581529

寶德科技股份有限公司
無線充電式滑鼠墊
M581529
官網連結 PDF下載

專利 M581717

微星科技股份有限公司
散熱裝置及應用散熱裝...
M581717
官網連結 PDF下載

專利 M581721

達方電子股份有限公司
滑鼠設備
M581721
官網連結 PDF下載

專利 M581761

精元電腦股份有限公司
具有UV光殺菌裝置之鍵盤
M581761
官網連結 PDF下載

專利 I666672

達方電子股份有限公司
發光鍵盤
I666672
官網連結 PDF下載

專利 M580929

遠東科技大學
滑鼠墊杯架
M580929
官網連結 PDF下載

專利 M581234

環聯科技有限公司
具有氣浮滑動裝置之滑鼠
M581234
官網連結 PDF下載

專利 M581277

宜鼎國際股份有限公司
CFexpress規...
M581277
官網連結 PDF下載

專利 M581288

茂林光學股份有限公司
應用於發光鍵盤之遮罩結構
M581288
官網連結 PDF下載

專利 I665547

達方電子股份有限公司
承載基座及其鍵盤設備
I665547
官網連結 PDF下載

專利 I665585

群光電子股份有限公司
鍵盤
I665585
官網連結 PDF下載

專利 I665586

達方電子股份有限公司
滑鼠設備
I665586
官網連結 PDF下載

專利 I665697

群光電子股份有限公司
鍵盤
I665697
官網連結 PDF下載

專利 M580702

華碩電腦股份有限公司
電子設備及其主機板
M580702
官網連結 PDF下載

專利 I664525

技嘉科技股份有限公司
具可翻轉風扇的散熱裝...
I664525
官網連結 PDF下載

專利 I664555

大陸商北京集創北方科技股份有限公司
手持裝置的顯示屏和主...
I664555
官網連結 PDF下載

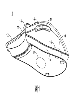
專利 I663527

致伸科技股份有限公司
滑鼠
I663527
官網連結 PDF下載

專利 I663529

海盜船電子股份有限公司
非接觸式感應充電滑鼠墊
I663529
官網連結 PDF下載

專利 D197845

美商蘋果公司
顯示螢幕之圖像
D197845
官網連結 PDF下載

專利 D197846

美商蘋果公司
顯示螢幕之圖像
D197846
官網連結 PDF下載

專利 I660287

和碩聯合科技股份有限公司
滑鼠結構
I660287
官網連結 PDF下載

專利 D197313

美商蘋果公司
顯示螢幕之圖像
D197313
官網連結 PDF下載

專利 I658559

南韓商愛思開海力士有限公司
具有光學互連結構的半...
I658559
官網連結 PDF下載

專利 D197103

美商蘋果公司
顯示螢幕之圖形化使用...
D197103
官網連結 PDF下載

專利 D196967

日商索尼股份有限公司
記憶卡
D196967
官網連結 PDF下載

專利 D196968

日商索尼股份有限公司
記憶卡之部分
D196968
官網連結 PDF下載

專利 D196969

日商索尼股份有限公司
記憶卡之部分
D196969
官網連結 PDF下載

專利 M575741

友懋國際科技股份有限公司
夾爪裝置及記憶卡檢測設備
M575741
官網連結 PDF下載

專利 I653580

技嘉科技股份有限公司
具有多主控晶片的主機...
I653580
官網連結 PDF下載

專利 I652567

技嘉科技股份有限公司
可分區散熱的散熱裝置...
I652567
官網連結 PDF下載

專利 M574317

城市學校財團法人臺北城市科技大學
香氛記憶卡教學工具
M574317
官網連結 PDF下載

專利 D195607

美商蘋果公司
顯示螢幕之圖形化使用者介面
D195607
官網連結 PDF下載

專利 D195381

美商蘋果公司
顯示螢幕之圖像
D195381
官網連結 PDF下載

專利 D194936

美商蘋果公司
顯示螢幕之圖形化使用者介面
D194936
官網連結 PDF下載

專利 D194447

美商蘋果公司
顯示螢幕之圖形化使用者介面
D194447
官網連結 PDF下載

專利 I643306

南韓商愛思開海力士有限公司
封裝基板、包含其之半...
I643306
官網連結 PDF下載

專利 I640065

韓商愛思開海力士有限公司
具有貫穿電極之半導體...
I640065
官網連結 PDF下載

專利 I638266

瑞昱半導體股份有限公司
記憶卡存取模組及記憶...
I638266
官網連結 PDF下載

專利 D191812

蘋果公司
顯示螢幕之圖形化使用者介面
D191812
官網連結 PDF下載

專利 D191813

蘋果公司
顯示螢幕之圖形化使用者介面
D191813
官網連結 PDF下載

通訊類相關專利 (US)

專利 D855614

Informatio...
D855614
PDF下載

專利 10365724

Keyboard d...
10365724
PDF下載

專利 10365687

Laptop com...
10365687
PDF下載

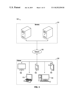
專利 10353530

Laptop-to-...
10353530
PDF下載

專利 D853387

Electronic...
D853387
PDF下載

專利 D853386

Electronic...
D853386
PDF下載

專利 D853385

Computer m...
D853385
PDF下載

專利 D852803

Cooling de...
D852803
PDF下載

專利 10340099

Mouse with...
10340099
PDF下載

專利 D852193

Mouse
D852193
PDF下載

專利 10331238

Magnetic s...
10331238
PDF下載

專利 10331234

Computer m...
10331234
PDF下載

專利 10276328

Keyboard s...
10276328
PDF下載

專利 D844623

Laptop holder
D844623
PDF下載

專利 10237509

Systems wi...
10237509
PDF下載

專利 10228731

Controller...
10228731
PDF下載

專利 10168738

Fuel cells...
10168738
PDF下載

專利 10133362

Ethiopic c...
10133362
PDF下載

專利 10128890

Privacy an...
10128890
PDF下載

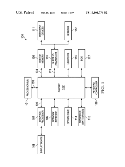
專利 10101774

Mechanical...
10101774
PDF下載

專利 10086584

Glass arti...
10086584
PDF下載

專利 10082193

Actuator
10082193
PDF下載

專利 9990111

Systems an...
9990111
PDF下載

專利 9990053

Keyboard w...
9990053
PDF下載

專利 9979427

Privacy an...
9979427
PDF下載

專利 D810070

Laptop com...
D810070
PDF下載

專利 9847468

Plated lea...
9847468
PDF下載

專利 9778683

Locking me...
9778683
PDF下載

專利 9543090

Keyboards ...
9543090
PDF下載

專利 9472361

Circuit bo...
9472361
PDF下載

專利 9449768

Stabilizat...
9449768
PDF下載

專利 9376249

Sanitary d...
9376249
PDF下載

專利 8911583

Method for...
8911583
PDF下載

專利 8866642

Uniquely i...
8866642
PDF下載

專利 7749334

Methods an...
7749334
PDF下載

專利 7556698

Methods an...
7556698
PDF下載

專利 7435303

Methods an...
7435303
PDF下載

專利 7052586

Apparatus ...
7052586
PDF下載

專利 7031773

Implantabl...
7031773
PDF下載

專利 D855647

Display sc...
D855647
PDF下載

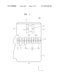
專利 10374342

Memory car...
10374342
PDF下載

專利 10371546

Voice and ...
10371546
PDF下載

專利 10362261

Memory car...
10362261
PDF下載

專利 10359928

Reconfigur...
10359928
PDF下載

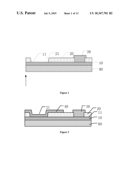
專利 10347701

Organic li...
10347701
PDF下載

專利 10337981

Low volume...
10337981
PDF下載

專利 D851642

Adjustable...
D851642
PDF下載

專利 10326498

Electronic...
10326498
PDF下載

專利 10318021

Sterilizab...
10318021
PDF下載

專利 D850474

Display sc...
D850474
PDF下載

專利 10314170

Motherboar...
10314170
PDF下載

專利 10312625

Secured bo...
10312625
PDF下載

專利 10310635

Mouse device
10310635
PDF下載

專利 D848431

Memory card
D848431
PDF下載

專利 D844644

Computer w...
D844644
PDF下載

專利 10249934

Wirelessly...
10249934
PDF下載

專利 D843399

Display sc...
D843399
PDF下載

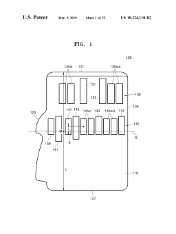
專利 10224110

Memory card
10224110
PDF下載

專利 10216047

Motherboar...
10216047
PDF下載

專利 D839272

Memory car...
D839272
PDF下載

專利 D836641

Memory card
D836641
PDF下載

專利 10146726

Motherboar...
10146726
PDF下載

專利 10114427

Input/outp...
10114427
PDF下載

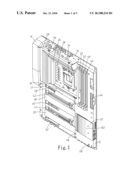
專利 10108234

Shielded m...
10108234
PDF下載

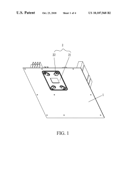
專利 10107568

Back plate...
10107568
PDF下載

專利 9960836

Method and...
9960836
PDF下載

專利 9478962

Method and...
9478962
PDF下載

專利 9352498

Method of ...
9352498
PDF下載

專利 8314187

Multimodal...
8314187
PDF下載

專利 7384126

Liquid dro...
7384126
PDF下載

專利 7100911

Method and...
7100911
PDF下載

專利 7074706

Semiconduc...
7074706
PDF下載

專利 7052617

Simplified...
7052617
PDF下載

專利 7036122

Device vir...
7036122
PDF下載

專利 6917673

Communicat...
6917673
PDF下載

專利 6731960

Dual opera...
6731960
PDF下載

專利 6711394

RF receive...
6711394
PDF下載

專利 6314309

Dual opera...
6314309
PDF下載