每月定時提供最新各國專利公報

扳手相關專利 (TW)

專利 I663006

賴傳榮
扳手工具胚料的成型方法
I663006
官網連結 PDF下載

專利 I663029

優鋼機械股份有限公司
可快速切換扭力之扭力扳手
I663029
官網連結 PDF下載

專利 I661906

和嘉興精密有限公司
扭力扳手結構
I661906
官網連結 PDF下載

專利 I661908

陳怡富
扭力扳手之扭力調整鎖定結構
I661908
官網連結 PDF下載

專利 I661909

胡厚飛
穿透式電動棘輪扳手及...
I661909
官網連結 PDF下載

專利 M579076

黃平仲
用於轉動圓桿狀工件之扳手
M579076
官網連結 PDF下載

專利 M579080

向日五金企業有限公司
扳手固定套改良
M579080
官網連結 PDF下載

專利 M579083

龍崴股份有限公司
電氣動可調扭力扳手
M579083
官網連結 PDF下載

專利 I660819

特典工具股份有限公司
扭力扳手
I660819
官網連結 PDF下載

專利 M578635

和嘉興精密有限公司
具有扭力調整結構改良...
M578635
官網連結 PDF下載

專利 I659804

王又民
快脫式扳手制動結構
I659804
官網連結 PDF下載

專利 I659805

王志嘉
扳手
I659805
官網連結 PDF下載

專利 I658903

楊德川
扳手加工過程不變形結構
I658903
官網連結 PDF下載

專利 I658907

朝程工業股份有限公司
雙錘式衝擊扳手
I658907
官網連結 PDF下載

專利 I658908

特典工具股份有限公司
離合構件以及扭力扳手
I658908
官網連結 PDF下載

專利 I657896

美商米沃奇電子工具公司
轉矩扳手
I657896
官網連結 PDF下載

專利 I657898

朝程工業股份有限公司
電動套筒扳手
I657898
官網連結 PDF下載

專利 M576944

林峻羽
緊湊型氣動扳手及氣缸...
M576944
官網連結 PDF下載

專利 M576945

林峻羽
氣動扳手正反轉與調速...
M576945
官網連結 PDF下載

專利 M576520

永豐工具股份有限公司
多尺寸套筒扳手之改良
M576520
官網連結 PDF下載

專利 I655061

何華忠
大扭力棘輪扳手
I655061
官網連結 PDF下載

專利 M576087

李逸民
快轉的開口扳手改良
M576087
官網連結 PDF下載

專利 M576088

羅川玉
棘輪扳手結構
M576088
官網連結 PDF下載

專利 M576089

黃士維
扳手構造
M576089
官網連結 PDF下載

專利 D196493

楊德川
扳手之部分
D196493
官網連結 PDF下載

專利 M575751

黃平仲
活動扳手
M575751
官網連結 PDF下載

專利 I653126

鑫爵實業股份有限公司
扭力扳手
I653126
官網連結 PDF下載

專利 M575372

和嘉興精密有限公司
扭力扳手結構
M575372
官網連結 PDF下載

專利 D196193

日商千住撒水股份有限公司
灑水頭用活動扳手
D196193
官網連結 PDF下載

專利 D196194

胡厚飛
扳手工具
D196194
官網連結 PDF下載

專利 D196196

劉昭志
扳手驅動塊之部分
D196196
官網連結 PDF下載

專利 I652147

豪越股份有限公司
換向裝置及具有該換向...
I652147
官網連結 PDF下載

專利 I652148

國立勤益科技大學
棘輪扳手之萬向驅動結構
I652148
官網連結 PDF下載

專利 I651168

穩陞工業股份有限公司
扳手結構
I651168
官網連結 PDF下載

專利 I650205

陳怡富
棘輪扳手之撥動裝置
I650205
官網連結 PDF下載

專利 I650207

昇鎰工具有限公司
手、電動棘輪扳手
I650207
官網連結 PDF下載

專利 I649160

米沃奇電子工具公司
扳手
I649160
官網連結 PDF下載

專利 I649161

約翰工業有限公司
便於取出驅動頭的扳手工具
I649161
官網連結 PDF下載

專利 I649162

胡厚飛
扳手與承接裝置之組合
I649162
官網連結 PDF下載

專利 I649163

陳怡富
快速更換驅動件的棘輪扳手
I649163
官網連結 PDF下載

專利 I647048

廖柏榕
扳手工具成型方法
I647048
官網連結 PDF下載

專利 I647072

楊承蒲
棘輪扳手結構
I647072
官網連結 PDF下載

專利 I647073

楊承蒲
棘輪扳手結構
I647073
官網連結 PDF下載

專利 I647075

和嘉興精密有限公司
扭力扳手結構
I647075
官網連結 PDF下載

專利 M572814

國倡冷鍛股份有限公司
棘輪套筒扳手結構
M572814
官網連結 PDF下載

專利 M572815

和嘉興精密有限公司
具有扭力調整定位結構...
M572815
官網連結 PDF下載

專利 M572816

和嘉興精密有限公司
扭力扳手結構
M572816
官網連結 PDF下載

專利 I645942

黃證城
換向扳手結構
I645942
官網連結 PDF下載

專利 I645944

特典工具股份有限公司
扭力扳手
I645944
官網連結 PDF下載

專利 M572272

陳財雄
可調式雙向扭力扳手
M572272
官網連結 PDF下載

專利 M572286

羽田工具企業股份有限公司
具多工作尺寸之爪式扳手
M572286
官網連結 PDF下載

專利 M572287

章志銘
雙向棘輪扳手
M572287
官網連結 PDF下載

專利 M572288

川景企業有限公司
剎車油分泵螺絲扳手組
M572288
官網連結 PDF下載

專利 M572290

昱州興業股份有限公司
簡易可攜型扭力扳手工具
M572290
官網連結 PDF下載

專利 I644762

和嘉興精密有限公司
旋動鎖固之扭力扳手
I644762
官網連結 PDF下載

專利 I637819

銳泰精密工具股份有限公司
具有套筒快卡結構的棘輪扳手
I637819
官網連結 PDF下載

專利 I637820

鴻安國際興業有限公司
具有止擋裝置之扳手
I637820
官網連結 PDF下載

專利 I633975

陳怡富
扳手結構
I633975
官網連結 PDF下載

專利 I633978

和嘉興精密有限公司
鎖固型扭力扳手
I633978
官網連結 PDF下載

專利 I632028

楊承蒲
棘輪扳手結構
I632028
官網連結 PDF下載

專利 I632029

廖鴻獎
棘輪活動扳手
I632029
官網連結 PDF下載

專利 I630988

銘祐實業有限公司
扭力扳手之黏膠止漏結構
I630988
官網連結 PDF下載

專利 I630992

謝維寧
多功能T型扭力扳手
I630992
官網連結 PDF下載

專利 I629140

廖鴻獎
棘輪活動扳手
I629140
官網連結 PDF下載

專利 I628051

豪越股份有限公司
可更換工具頭的棘輪扳手
I628051
官網連結 PDF下載

專利 I626124

寶達精業股份有限公司
空轉式扭力扳手
I626124
官網連結 PDF下載

專利 I625202

優鋼機械股份有限公司
具有感測結構之電子式...
I625202
官網連結 PDF下載

專利 I623388

陳家佑
換向棘輪扳手
I623388
官網連結 PDF下載

專利 I621507

寶達精業股份有限公司
具照明結構顯示刻度之...
I621507
官網連結 PDF下載

專利 I615245

豪越股份有限公司
棘輪扳手
I615245
官網連結 PDF下載

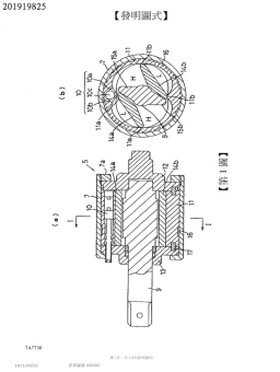
專利 201919825

日商瓜生製作股份有限公司
油壓式扭力扳手的衝擊...
201919825
官網連結 PDF下載

專利 201916983

向優股份有限公司
棘輪扳手
201916983
官網連結 PDF下載

專利 201914713

劉昭志
高扭力棘輪穿透扳手之...
201914713
官網連結 PDF下載

專利 201914759

豐造工業股份有限公司
雙向棘輪扳手可視蓋板結構
201914759
官網連結 PDF下載

專利 201914763

劉昭志
可提高扭力之棘輪扳手
201914763
官網連結 PDF下載

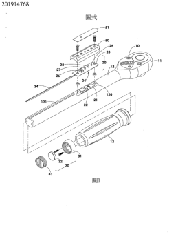
專利 201914768

詹金杰
智慧型手機設定的扭力扳手
201914768
官網連結 PDF下載

專利 201912321

昇鎰工具有限公司
扳手工具
201912321
官網連結 PDF下載

專利 201910068

美商施耐寶公司
具有扭矩規範的無線扭矩扳手
201910068
官網連結 PDF下載

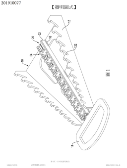
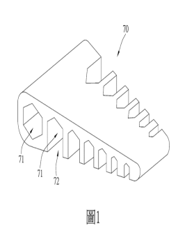
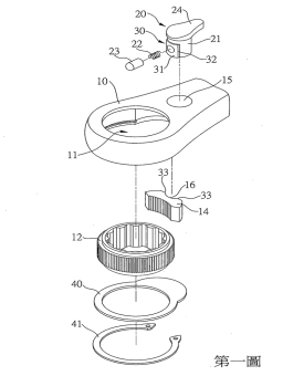
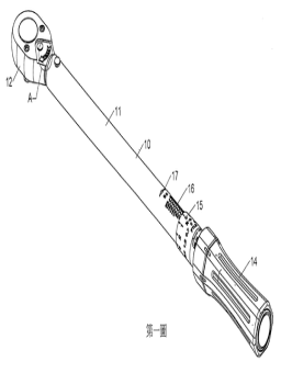
專利 201910077

高瑞乾
扳手固定架
201910077
官網連結 PDF下載

專利 201908071

美商葛利普工具科技公司
防滑扳手型工具
201908071
官網連結 PDF下載

專利 201906692

林鉦智
開口扳手
201906692
官網連結 PDF下載

專利 201906695

重威企業有限公司
雙轉體扳手
201906695
官網連結 PDF下載

專利 201902631

林麗卿
棘輪扳手結構
201902631
官網連結 PDF下載

專利 201900351

美商施耐寶公司
具有螺紋端頭的扳手
201900351
官網連結 PDF下載

扳手相關專利 (US)

專利 D852012

Hex wrench
D852012
PDF下載

專利 10328553

Adjustable...
10328553
PDF下載

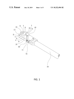
專利 10322496

Open-end w...
10322496
PDF下載

專利 10317155

1911 bushi...
10317155
PDF下載

專利 10315297

Torque ind...
10315297
PDF下載

專利 10315291

Wrench
10315291
PDF下載

專利 10309169

Spinner wr...
10309169
PDF下載

專利 10300585

Ratchet ty...
10300585
PDF下載

專利 10300583

Ratchet wr...
10300583
PDF下載

專利 10286531

Combinatio...
10286531
PDF下載

專利 10286530

Safety wre...
10286530
PDF下載

專利 10286527

Hexagonal ...
10286527
PDF下載

專利 10286526

Clench wrench
10286526
PDF下載

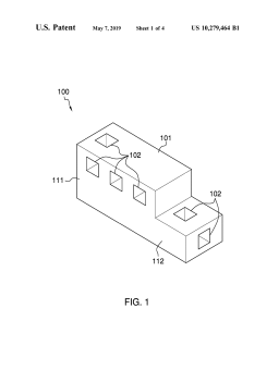
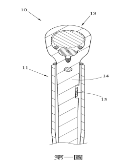
專利 10279464

Socket wre...
10279464
PDF下載

專利 10279458

Reversible...
10279458
PDF下載

專利 10272549

Hinged rat...
10272549
PDF下載

專利 10259106

Switch ass...
10259106
PDF下載

專利 D844984

Wrench case
D844984
PDF下載

專利 10252403

Wrench adj...
10252403
PDF下載

專利 D844404

Double-End...
D844404
PDF下載

專利 10247279

Integrated...
10247279
PDF下載

專利 10245712

Ratchet wr...
10245712
PDF下載

專利 D843801

Hydraulic ...
D843801
PDF下載

專利 10232495

Electric r...
10232495
PDF下載

專利 10232494

Ratchet wr...
10232494
PDF下載

專利 D843067

Fire extin...
D843067
PDF下載

專利 D842669

Multiple s...
D842669
PDF下載

專利 D842668

Multi-func...
D842668
PDF下載

專利 D842667

Double-end...
D842667
PDF下載

專利 D842666

Double-end...
D842666
PDF下載

專利 D842059

Pivotal wr...
D842059
PDF下載

專利 D842058

Locking co...
D842058
PDF下載

專利 D842057

Double-end...
D842057
PDF下載

專利 D841419

Pin spanne...
D841419
PDF下載

專利 D841418

Flange wrench
D841418
PDF下載

專利 D840201

Socket wrench
D840201
PDF下載

專利 D839708

Torque wrench
D839708
PDF下載

專利 10195724

Ratcheting...
10195724
PDF下載

專利 D839067

Wrench head
D839067
PDF下載

專利 10189149

Retention ...
10189149
PDF下載

專利 10189148

One-way wr...
10189148
PDF下載

專利 10184850

Torque wre...
10184850
PDF下載

專利 10183382

Strap wrench
10183382
PDF下載

專利 10183381

Wrench
10183381
PDF下載

專利 10179396

Torque-cor...
10179396
PDF下載

專利 10179395

Collapsibl...
10179395
PDF下載

專利 D837620

Torque wre...
D837620
PDF下載

專利 10173306

Securing u...
10173306
PDF下載

專利 D837005

Hand grip ...
D837005
PDF下載

專利 10166669

Extendable...
10166669
PDF下載

專利 10166659

Ratchet wr...
10166659
PDF下載

專利 10166658

Multi-purp...
10166658
PDF下載