每月定時提供最新各國專利公報

光電類相關專利 (TW)

專利 I667157

立碁電子工業股份有限公司
車用發光二極體頭燈
I667157
官網連結 PDF下載

專利 I667327

日商半導體能源研究所股份有限公司
發光元件,發光裝置,...
I667327
官網連結 PDF下載

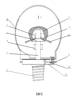
專利 I667434

林郅燊
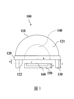
氣密燈
I667434
官網連結 PDF下載

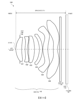
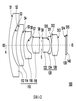
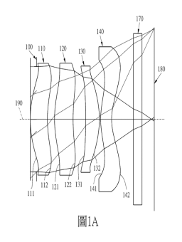
專利 I667492

聲遠精密光學股份有限公司
廣角成像鏡頭
I667492
官網連結 PDF下載

專利 I667496

香港商亞太兆業有限公司
聚光裝置
I667496
官網連結 PDF下載

專利 I667500

友達光電股份有限公司
彩色濾光片、顯示面板...
I667500
官網連結 PDF下載

專利 I667502

南韓商三星SDI股份有限公司
偏光片和包括其的光學顯示器
I667502
官網連結 PDF下載

專利 I667504

凌國基
用於光纖連接器之套圈...
I667504
官網連結 PDF下載

專利 I667507

大立光電股份有限公司
環形光學元件、成像鏡...
I667507
官網連結 PDF下載

專利 I667509

大立光電股份有限公司
攝影用光學鏡組、取像...
I667509
官網連結 PDF下載

專利 I667528

尼亞奇 查卡瑞亞
多相機全景成像系統及...
I667528
官網連結 PDF下載

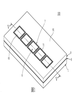
專利 I667941

林再福
具有高效率之各種顏色...
I667941
官網連結 PDF下載

專利 M581662

呂清淼
LED間接照明燈具
M581662
官網連結 PDF下載

專利 M581663

呂清淼
LED間接照明燈具結構
M581663
官網連結 PDF下載

專利 D198818

日商松下知識產權經營股份有限公司
吸頂燈之部分
D198818
官網連結 PDF下載

專利 I666117

日商日東電工股份有限公司
偏光膜製造用之積層體...
I666117
官網連結 PDF下載

專利 I666472

日商富士軟片股份有限公司
彩色濾光片、其製造方...
I666472
官網連結 PDF下載

專利 I666473

日商日東電工股份有限公司
長條狀偏光薄膜積層體
I666473
官網連結 PDF下載

專利 I666477

茂林光電科技股份有限公司
具高出光均勻度之導光...
I666477
官網連結 PDF下載

專利 I666478

云光科技股份有限公司
直下式背光裝置
I666478
官網連結 PDF下載

專利 I666479

友達光電股份有限公司
光源組件及使用其之背光模組
I666479
官網連結 PDF下載

專利 I666514

日商富士軟片股份有限公司
著色硬化性樹脂組成物...
I666514
官網連結 PDF下載

專利 M581177

鴻鎵科技股份有限公司
LED燈泡
M581177
官網連結 PDF下載

專利 I665469

弗勞恩霍夫爾協會
3D多孔徑成像裝置、...
I665469
官網連結 PDF下載

專利 I665479

光耀科技股份有限公司
導光膜及具有該導光膜...
I665479
官網連結 PDF下載

專利 I665484

新鉅科技股份有限公司
四片式紅外單波長鏡片組
I665484
官網連結 PDF下載

專利 I665485

南韓商三星電機股份有限公司
光學成像系統與行動終端
I665485
官網連結 PDF下載

專利 I665488

大立光電股份有限公司
攝影光學系統、取像裝...
I665488
官網連結 PDF下載

專利 I665811

光寶科技股份有限公司
發光二極體封裝結構及...
I665811
官網連結 PDF下載

專利 I665938

南開科技大學
可改變色光之魚燈驅動器
I665938
官網連結 PDF下載

專利 I665940

張世揚
三點式燈泡及其三點直...
I665940
官網連結 PDF下載

專利 M580653

宮前實業有限公司
照明裝置
M580653
官網連結 PDF下載

專利 M580654

靖軒科技有限公司
輕鋼架LED燈具
M580654
官網連結 PDF下載

專利 M580656

陳明宗
濾藍光發光二極體燈具裝置
M580656
官網連結 PDF下載

專利 I664044

大陸商上海微電子裝備(集團)股份有限公司
一種適於在雷射加工工...
I664044
官網連結 PDF下載

專利 I664439

佳能企業股份有限公司
光學鏡頭
I664439
官網連結 PDF下載

專利 I664441

揚明光學股份有限公司
廣角鏡頭
I664441
官網連結 PDF下載

專利 I664457

大陸商瑞儀光電(蘇州)有限公司
導光膜、背光模組,及...
I664457
官網連結 PDF下載

專利 I664460

玉晶光電股份有限公司
目鏡光學系統
I664460
官網連結 PDF下載

專利 I664463

美商蘋果公司
成像透鏡系統
I664463
官網連結 PDF下載

專利 I658234

大陸商浙江力昇光電科技有限公司
LED散熱結構、LE...
I658234
官網連結 PDF下載

專利 I657604

正昌新視界股份有限公司
LED模組製作方法以...
I657604
官網連結 PDF下載

專利 I656620

愛爾蘭商艾克斯瑟樂普林特有限公司
微組裝發光二極體顯示...
I656620
官網連結 PDF下載

專利 I655395

晶元光電股份有限公司
可撓式發光二極體組件...
I655395
官網連結 PDF下載

專利 M576232

陳繪伃
隔熱套及可調整焦距的...
M576232
官網連結 PDF下載

專利 M575852

盧朝欄
LED長型燈管之燈座改良
M575852
官網連結 PDF下載

專利 I652443

奇鋐科技股份有限公司
散熱單元
I652443
官網連結 PDF下載

專利 I650884

光寶光電(常州)有限公司
發光二極體封裝結構
I650884
官網連結 PDF下載

專利 M574199

王濤
封裝注塑式LED燈
M574199
官網連結 PDF下載

專利 I648878

東貝光電科技股份有限公司
LED發光源、LED...
I648878
官網連結 PDF下載

光電類相關專利 (US)

專利 D855247

LED high m...
D855247
PDF下載

專利 D855239

Pendant lamp
D855239
PDF下載

專利 10368409

Light emit...
10368409
PDF下載

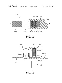
專利 10367125

Strengthen...
10367125
PDF下載

專利 10365552

Light sour...
10365552
PDF下載

專利 10365542

Lens barre...
10365542
PDF下載

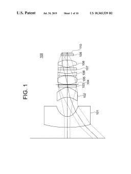
專利 10365539

Optical im...
10365539
PDF下載

專利 10364975

Highly eff...
10364975
PDF下載

專利 10364970

LED lighti...
10364970
PDF下載

專利 10364966

Lamp inclu...
10364966
PDF下載

專利 10364947

LED module
10364947
PDF下載

專利 D854729

LED wall p...
D854729
PDF下載

專利 D854718

LED work l...
D854718
PDF下載

專利 D854715

LED bulb
D854715
PDF下載

專利 10362679

Lamp compr...
10362679
PDF下載

專利 10362649

LED lighti...
10362649
PDF下載

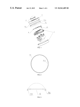
專利 10361409

Cupboard lamp
10361409
PDF下載

專利 10359188

LED lights...
10359188
PDF下載

專利 10359179

Light sour...
10359179
PDF下載

專利 10359172

LED headlight
10359172
PDF下載

專利 10359152

LED filame...
10359152
PDF下載

專利 10359151

Solid stat...
10359151
PDF下載

專利 D854226

Projection...
D854226
PDF下載

專利 D854224

Lamp
D854224
PDF下載

專利 D854206

Round LED ...
D854206
PDF下載

專利 10356875

Underwater...
10356875
PDF下載

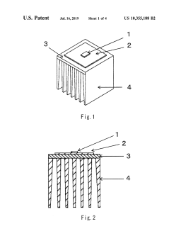
專利 10355188

LED lamp h...
10355188
PDF下載

專利 10355179

Method of ...
10355179
PDF下載

專利 10350615

Centrifuge...
10350615
PDF下載

專利 8400773

Mobile act...
8400773
PDF下載

專利 7727727

Pretreatme...
7727727
PDF下載

專利 7601491

Pretreatme...
7601491
PDF下載

專利 7359510

Informatio...
7359510
PDF下載

專利 7268592

Input/outp...
7268592
PDF下載

專利 7122385

Magnetic m...
7122385
PDF下載

專利 10365537

Directiona...
10365537
PDF下載

專利 10365534

Optical wa...
10365534
PDF下載

專利 10365498

Illuminati...
10365498
PDF下載

專利 10365492

Systems, d...
10365492
PDF下載

專利 10365489

Semi-trans...
10365489
PDF下載

專利 10365476

Method for...
10365476
PDF下載

專利 10365461

Camera opt...
10365461
PDF下載

專利 10365460

Photograph...
10365460
PDF下載

專利 10365458

Optical im...
10365458
PDF下載

專利 10365457

Optical im...
10365457
PDF下載

專利 10365455

Optical sy...
10365455
PDF下載

專利 10365454

Zoom lens ...
10365454
PDF下載

專利 10365443

Connector,...
10365443
PDF下載

專利 10365442

Optical ho...
10365442
PDF下載

專利 10365435

Surface gr...
10365435
PDF下載

專利 10365414

Light beam...
10365414
PDF下載

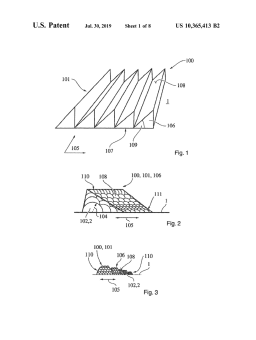
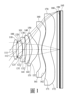
專利 10365413

Device for...
10365413
PDF下載

專利 10365346

Low profil...
10365346
PDF下載

專利 10365204

Long path ...
10365204
PDF下載

專利 10364959

Lighting d...
10364959
PDF下載

專利 10363541

Systems an...
10363541
PDF下載

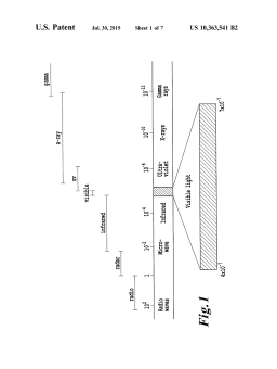
專利 10363118

Methods an...
10363118
PDF下載

專利 10362295

Optical ap...
10362295
PDF下載

專利 10362229

Multi-aper...
10362229
PDF下載

專利 10361534

Semiconduc...
10361534
PDF下載

專利 10361508

Docking de...
10361508
PDF下載

專利 10360808

System and...
10360808
PDF下載

專利 9605317

Biomarkers...
9605317
PDF下載

專利 8415512

Hydrocarbo...
8415512
PDF下載

專利 7838708

Hydrocarbo...
7838708
PDF下載

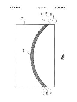
專利 7803453

Laminated ...
7803453
PDF下載

專利 7405455

Semiconduc...
7405455
PDF下載

專利 7397872

Automatic ...
7397872
PDF下載

專利 7335604

Thin-film ...
7335604
PDF下載

專利 7319718

CQI coding...
7319718
PDF下載

專利 7161050

Method and...
7161050
PDF下載

專利 7057398

Microwave ...
7057398
PDF下載

專利 7018101

Material f...
7018101
PDF下載

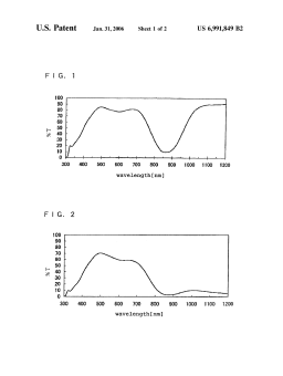
專利 6991849

Near infra...
6991849
PDF下載