每月定時提供最新各國專利公報

電子零件相關專利 (TW)

專利 D198903

日商廣瀨電機股份有限公司
電連接器之部分
D198903
官網連結 PDF下載

專利 D198904

日商廣瀨電機股份有限公司
電連接器之部分
D198904
官網連結 PDF下載

專利 I667474

瑞士商希拉格國際有限公司
雙腔室分析測試條
I667474
官網連結 PDF下載

專利 I667504

凌國基
用於光纖連接器之套圈...
I667504
官網連結 PDF下載

專利 I667850

岱煒科技股份有限公司
電連接器(一)
I667850
官網連結 PDF下載

專利 I667947

JX金屬股份有限公司
粗化銅箔、被銅積層板...
I667947
官網連結 PDF下載

專利 M581779

陳曉萍
具熱保護功能的連接器改良
M581779
官網連結 PDF下載

專利 M581798

黃嘉杰
兼具散熱及高擴充便利...
M581798
官網連結 PDF下載

專利 D198750

大陸商昆山安費諾正日電子有限公司
電連接器
D198750
官網連結 PDF下載

專利 D198751

正淩精密工業股份有限公司
電連接器之部分
D198751
官網連結 PDF下載

專利 I666122

亞洲電材股份有限公司
用於軟性印刷電路板之...
I666122
官網連結 PDF下載

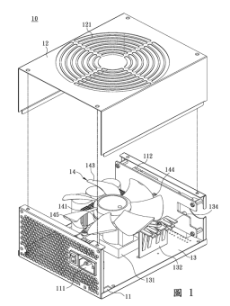
專利 I666535

振華電腦有限公司
電源供應器的風扇轉速...
I666535
官網連結 PDF下載

專利 I666827

美商莫仕有限公司
連接器組件、連接器組...
I666827
官網連結 PDF下載

專利 I666828

日商日本壓著端子製造股份有限公司
連接器
I666828
官網連結 PDF下載

專利 I666832

黃家怡
電連接器
I666832
官網連結 PDF下載

專利 M581353

欣興電子股份有限公司
印刷電路板堆疊結構
M581353
官網連結 PDF下載

專利 M581355

緯創資通股份有限公司
固定機構與包含其之伺...
M581355
官網連結 PDF下載

專利 I665950

英業達股份有限公司
多層印刷電路板及製作...
I665950
官網連結 PDF下載

專利 I663666

中華精測科技股份有限公司
嵌埋被動元件之轉接介...
I663666
官網連結 PDF下載

專利 I663818

強弦科技股份有限公司
可動態調整回授補償的...
I663818
官網連結 PDF下載

專利 M579859

遠東科技大學
可調整握持位置的手機殼
M579859
官網連結 PDF下載

專利 I662250

仲鈜科技股份有限公司
標記載體上的多個被動...
I662250
官網連結 PDF下載

專利 I662778

技嘉科技股份有限公司
可調整功耗限制的電源...
I662778
官網連結 PDF下載

專利 M578868

和鍥精密電子股份有限公司
電感被動元件
M578868
官網連結 PDF下載

專利 D197474

瑞士商央捷科斯歐洲公司
儲存媒體機殼
D197474
官網連結 PDF下載

專利 M577968

擎宏電子企業有限公司
可供直流電源供應器功...
M577968
官網連結 PDF下載

專利 M577500

華碩電腦股份有限公司
被動元件之訊號量測系統
M577500
官網連結 PDF下載

專利 D196945

第一傳動科技股份有限公司
電源供應器
D196945
官網連結 PDF下載

專利 D196948

蔡宗彥
電源供應器之插頭
D196948
官網連結 PDF下載

專利 D196793

美商海盜船記憶體股份有限公司
電腦機殼
D196793
官網連結 PDF下載

專利 I654919

麗思頓公司
電源供應器
I654919
官網連結 PDF下載

專利 D196408

捷庭有限公司
手機殼
D196408
官網連結 PDF下載

專利 D196231

擎宏電子企業有限公司
交直流電源供應器面板
D196231
官網連結 PDF下載

專利 I651612

勝德國際研發股份有限公司
行動電源裝置及其電源供應器
I651612
官網連結 PDF下載

專利 I651990

南韓商三星電機股份有限公司
印刷電路板
I651990
官網連結 PDF下載

專利 D195786

擎宏電子企業有限公司
交直流電源供應器面板
D195786
官網連結 PDF下載

專利 M573432

鋅詠豐精密科技股份有限公司
四線式測片被動元件檢測器
M573432
官網連結 PDF下載

專利 I647979

三星電機股份有限公司
預浸體及其製造方法、...
I647979
官網連結 PDF下載

專利 I640231

宇宙電路板設備(深圳)有限公司
一種印刷電路板濕化學...
I640231
官網連結 PDF下載

專利 D193408

龍橋股份有限公司
機殼(一)
D193408
官網連結 PDF下載

專利 I638414

中華精測科技股份有限公司
晶圓測試介面組件及其...
I638414
官網連結 PDF下載

專利 D191432

許誌原
手機殼套
D191432
官網連結 PDF下載

專利 I627400

仲鈜科技股份有限公司
被動元件批次式檢測之...
I627400
官網連結 PDF下載

專利 I623247

威華微機電股份有限公司
被動元件的預形體的量產方法
I623247
官網連結 PDF下載

專利 M557943

弘鄴科技有限公司
網路訊號處理電路之改良
M557943
官網連結 PDF下載

專利 M555554

力全電子科技有限公司
晶片型被動元件
M555554
官網連結 PDF下載

專利 D187644

英格拉姆 傑森
具握套的手機殼
D187644
官網連結 PDF下載

專利 I576869

精材科技股份有限公司
被動元件結構及其製作方法
I576869
官網連結 PDF下載

專利 D179076

迎廣科技股份有限公司
開放式電腦機殼
D179076
官網連結 PDF下載

專利 219926

酒井義男
熔融玻璃切斷裝置
219926
官網連結 PDF下載

電子零件相關專利 (US)

專利 10362688

Assembly s...
10362688
PDF下載

專利 10359659

Cooling sy...
10359659
PDF下載

專利 10356906

Method of ...
10356906
PDF下載

專利 10342142

Implementi...
10342142
PDF下載

專利 10342131

PCB lamina...
10342131
PDF下載

專利 10337687

Metal PCB ...
10337687
PDF下載

專利 D852142

Electrical...
D852142
PDF下載

專利 D852137

Electrical...
D852137
PDF下載

專利 10333263

Cable conn...
10333263
PDF下載

專利 10333258

Electrical...
10333258
PDF下載

專利 10333250

Electrical...
10333250
PDF下載

專利 10333249

Electronic...
10333249
PDF下載

專利 D851640

Case for a...
D851640
PDF下載

專利 D851639

Case for e...
D851639
PDF下載

專利 D851638

Phone case
D851638
PDF下載

專利 D851405

Adjustable...
D851405
PDF下載

專利 10327348

Enclosure ...
10327348
PDF下載

專利 10327326

Electronic...
10327326
PDF下載

專利 10324365

Projector-...
10324365
PDF下載

專利 D851082

Case for a...
D851082
PDF下載

專利 10311910

Media play...
10311910
PDF下載

專利 10292283

Device wit...
10292283
PDF下載

專利 10247378

Metal PCB,...
10247378
PDF下載

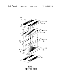
專利 10211069

Embedded p...
10211069
PDF下載

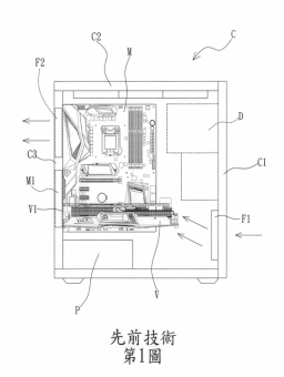
專利 10199153

PCB inter-...
10199153
PDF下載

專利 10178776

Differenti...
10178776
PDF下載

專利 10170150

Media play...
10170150
PDF下載

專利 9975100

Recovering...
9975100
PDF下載

專利 9702733

Rotation a...
9702733
PDF下載

專利 9091565

Magnetic p...
9091565
PDF下載

專利 8681014

Indicator ...
8681014
PDF下載

專利 8644912

System and...
8644912
PDF下載

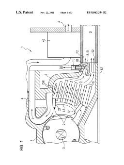
專利 8063334

Switching ...
8063334
PDF下載

專利 7831602

Method for...
7831602
PDF下載

專利 7274787

Scheduled ...
7274787
PDF下載

專利 7102986

Optical disk
7102986
PDF下載

專利 7037112

Virtual ar...
7037112
PDF下載

專利 7001478

Adhesive a...
7001478
PDF下載

專利 10363829

Portable a...
10363829
PDF下載

專利 10362711

Fan mounti...
10362711
PDF下載

專利 10361639

Power supp...
10361639
PDF下載

專利 10361574

Systems, d...
10361574
PDF下載

專利 10361467

Power supp...
10361467
PDF下載

專利 D853962

Housing fo...
D853962
PDF下載

專利 10348206

Control me...
10348206
PDF下載

專利 10348125

Devices an...
10348125
PDF下載

專利 10348115

Power supp...
10348115
PDF下載

專利 10348105

Power supp...
10348105
PDF下載

專利 D851759

Breakaway ...
D851759
PDF下載

專利 D851595

Power conn...
D851595
PDF下載

專利 10326236

Electrical...
10326236
PDF下載

專利 10326228

Connector ...
10326228
PDF下載

專利 10326226

Contact wi...
10326226
PDF下載

專利 10321577

Wafer-leve...
10321577
PDF下載

專利 10321575

Integrated...
10321575
PDF下載

專利 10278291

Passive al...
10278291
PDF下載

專利 10276560

Passive de...
10276560
PDF下載

專利 10264676

Passive el...
10264676
PDF下載

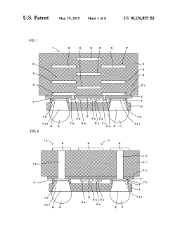
專利 10236859

Filter com...
10236859
PDF下載

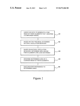
專利 10224389

Embedded p...
10224389
PDF下載

專利 10219390

Fabricatio...
10219390
PDF下載

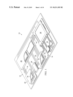
專利 10211183

Semiconduc...
10211183
PDF下載

專利 10186481

Semiconduc...
10186481
PDF下載

專利 8473266

Method for...
8473266
PDF下載

專利 8229714

Method for...
8229714
PDF下載

專利 7961568

Disklike r...
7961568
PDF下載

專利 7885153

Disklike r...
7885153
PDF下載

專利 7789421

Gas bag mo...
7789421
PDF下載

專利 7623422

Disklike r...
7623422
PDF下載

專利 7577255

Proxy meth...
7577255
PDF下載

專利 7497469

Airbag for...
7497469
PDF下載

專利 7454785

Proxy meth...
7454785
PDF下載

專利 7421735

Proxy meth...
7421735
PDF下載

專利 7411877

Dislike re...
7411877
PDF下載

專利 7341372

Feed mixer...
7341372
PDF下載

專利 7285814

Dynamic ra...
7285814
PDF下載

專利 7118268

Undercarri...
7118268
PDF下載

專利 7072276

Disklike r...
7072276
PDF下載

專利 7026730

Integrated...
7026730
PDF下載

專利 7019347

Dynamic ra...
7019347
PDF下載

專利 7013820

Ship and o...
7013820
PDF下載

專利 6991390

Locating k...
6991390
PDF下載