每月定時提供最新各國專利公報

鉗子相關專利 (TW)

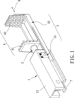
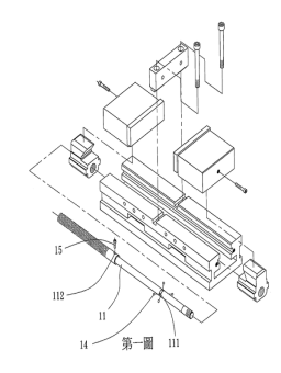
專利 I661911

德商威查格工具廠有限公司
擠壓鉗
I661911
官網連結 PDF下載

專利 D197748

克里斯汀 亨利 漢森有限公司
虎鉗
D197748
官網連結 PDF下載

專利 I659810

日商工程股份有限公司
水泵鉗以及罩構件
I659810
官網連結 PDF下載

專利 I658902

王文豐
替換式下壓虎鉗結構
I658902
官網連結 PDF下載

專利 M576943

中國鋼鐵股份有限公司
可調式水管鉗
M576943
官網連結 PDF下載

專利 D196916

伯鑫工具股份有限公司
水管鉗之部分
D196916
官網連結 PDF下載

專利 M576524

賴四正
鎖定鉗的鎖定及釋放機...
M576524
官網連結 PDF下載

專利 D196718

德商貝西工具兩合股份有限公司
夾鉗
D196718
官網連結 PDF下載

專利 I655060

鄭金村
中心虎鉗裝置
I655060
官網連結 PDF下載

專利 I652150

伯鑫工具股份有限公司
水管鉗
I652150
官網連結 PDF下載

專利 I652152

德商威查格工具廠有限公司
鉗子部件、鉗子及剝離鉗
I652152
官網連結 PDF下載

專利 M574955

君宇企業股份有限公司
便於物件置放與夾持定...
M574955
官網連結 PDF下載

專利 D196058

德商C 格斯塔夫 布希 克尼佩克斯工廠
鉗子
D196058
官網連結 PDF下載

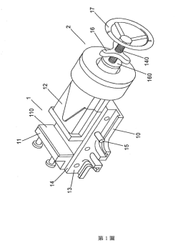
專利 I651167

陳逢霖
氣壓式虎鉗
I651167
官網連結 PDF下載

專利 M574541

梁敬河
直立式虎鉗結構
M574541
官網連結 PDF下載

專利 M574542

梁敬河
虎鉗結構
M574542
官網連結 PDF下載

專利 M574094

台灣中澤股份有限公司
變位鉗具
M574094
官網連結 PDF下載

專利 I649167

德商威查格工具廠有限公司
手壓鉗
I649167
官網連結 PDF下載

專利 M573682

中國鋼鐵股份有限公司
可調式水管鉗
M573682
官網連結 PDF下載

專利 I648139

優品企業有限公司
多功能剪線鉗結構改良
I648139
官網連結 PDF下載

專利 D195301

張沛晴
鉗具之鉗頭
D195301
官網連結 PDF下載

專利 M572813

張濬為
模組化並列式虎鉗結構
M572813
官網連結 PDF下載

專利 M572818

賴四正
鎖定鉗的鎖定及釋放機構
M572818
官網連結 PDF下載

專利 D194781

鴻安國際興業有限公司
鉗子握把之部分
D194781
官網連結 PDF下載

專利 I644763

趙素如
越夾越緊的鉗子
I644763
官網連結 PDF下載

專利 M571789

中國鋼鐵股份有限公司
夾鉗
M571789
官網連結 PDF下載

專利 D194556

張沛晴
鉗具之鉗頭
D194556
官網連結 PDF下載

專利 M571291

張沛晴
萬能鉗結構
M571291
官網連結 PDF下載

專利 I641450

王文豐
虎鉗改良結構
I641450
官網連結 PDF下載

專利 I640391

銘唯精密企業有限公司
並列式虎鉗結構
I640391
官網連結 PDF下載

專利 D193719

欣富康實業有限公司
鉗之部分
D193719
官網連結 PDF下載

專利 M567685

陳君帆

M567685
官網連結 PDF下載

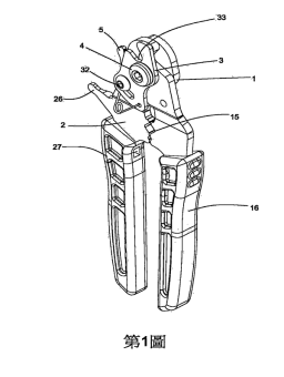
專利 M567987

品瑞工業股份有限公司
端子壓著鉗
M567987
官網連結 PDF下載

專利 D192953

鴻安國際興業有限公司
鉗子之部分
D192953
官網連結 PDF下載

專利 I635935

SMC股份有限公司
夾鉗裝置
I635935
官網連結 PDF下載

專利 M567162

王文豐
虎鉗改良結構
M567162
官網連結 PDF下載

專利 M566645

中國鋼鐵股份有限公司
水管鉗
M566645
官網連結 PDF下載

專利 I632994

許恆翊
可調整角度鉗具
I632994
官網連結 PDF下載

專利 M565631

楊息棟
端子鉗改良結構
M565631
官網連結 PDF下載

專利 I632034

林盈儒
兼具剝線功能的工具鉗
I632034
官網連結 PDF下載

專利 M565095

寶昌金屬工業有限公司
工具鉗
M565095
官網連結 PDF下載

專利 D191941

伯鑫工具股份有限公司
水管鉗之部分
D191941
官網連結 PDF下載

專利 M564504

鄭金村
中心虎鉗裝置
M564504
官網連結 PDF下載

專利 M564505

陳淑汝
具穩固定位功能之管鉗...
M564505
官網連結 PDF下載

專利 I630074

米沃奇電子工具公司
管扳鉗(一)
I630074
官網連結 PDF下載

專利 M563942

明興機械工業股份有限公司
木工虎鉗之改良
M563942
官網連結 PDF下載

專利 D191575

吳明杰
夾鉗之部分
D191575
官網連結 PDF下載

專利 M563322

明興機械工業股份有限公司
虎鉗之轉動軸結構改良
M563322
官網連結 PDF下載

專利 I628052

沈美紅
束環鉗
I628052
官網連結 PDF下載

專利 M562746

明興機械工業股份有限公司
虎鉗之轉環省力結構
M562746
官網連結 PDF下載

專利 I627031

曾敏政
C形環鉗替換結構
I627031
官網連結 PDF下載

專利 I626128

寶昌金屬工業有限公司
車輛卡鉗活塞壓回器
I626128
官網連結 PDF下載

專利 I617399

賴秋吉
束環鉗
I617399
官網連結 PDF下載

專利 I614096

莎爾星科技股份有限公司
夾鉗工具及可調限位機構
I614096
官網連結 PDF下載

專利 I613044

游再順
活動扳鉗
I613044
官網連結 PDF下載

專利 I608909

賴秋吉
鉗具
I608909
官網連結 PDF下載

專利 I608910

黃育祥
鉗體結構
I608910
官網連結 PDF下載

專利 I593516

王文豐
手自動雙夾虎鉗
I593516
官網連結 PDF下載

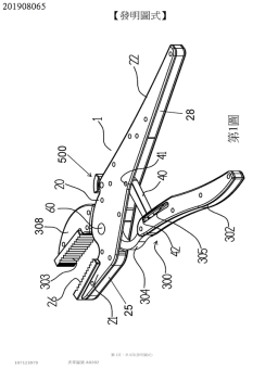
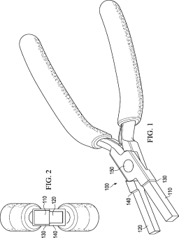
專利 201908065

布坎南 奈傑爾
鉗子
201908065
官網連結 PDF下載

專利 201840387

美商莎爾星科技股份有限公司
可拆卸接頭加工卡匣及...
201840387
官網連結 PDF下載

專利 201832435

德商C 格斯塔夫 布希 克尼佩克斯工廠
剝線鉗
201832435
官網連結 PDF下載

鉗子相關專利 (US)

專利 D850228

Pliers wit...
D850228
PDF下載

專利 D849500

Handles fo...
D849500
PDF下載

專利 D848808

Multifunct...
D848808
PDF下載

專利 D848807

Long reach...
D848807
PDF下載

專利 10272545

Locking pl...
10272545
PDF下載

專利 D845728

Pliers wit...
D845728
PDF下載

專利 D845098

Pliers wit...
D845098
PDF下載

專利 D841423

Multiple g...
D841423
PDF下載

專利 10207394

Locking pl...
10207394
PDF下載

專利 10207393

Locking pl...
10207393
PDF下載

專利 D840104

Combinatio...
D840104
PDF下載

專利 D835491

Pliers gri...
D835491
PDF下載

專利 D835486

Pliers
D835486
PDF下載

專利 D835485

Multiple g...
D835485
PDF下載

專利 D834907

Pliers
D834907
PDF下載

專利 D834906

Pliers
D834906
PDF下載

專利 D834905

Pliers
D834905
PDF下載

專利 10137560

Jewelry ma...
10137560
PDF下載

專利 10137559

Pliers
10137559
PDF下載

專利 10092999

Vise grip ...
10092999
PDF下載

專利 D828738

Pliers
D828738
PDF下載

專利 D828737

Pliers
D828737
PDF下載

專利 10066830

Lighted li...
10066830
PDF下載

專利 D825713

Tip of fis...
D825713
PDF下載

專利 10016882

Pliers for...
10016882
PDF下載

專利 10014672

Linesman p...
10014672
PDF下載

專利 9993910

Method and...
9993910
PDF下載

專利 9987760

Manual pliers
9987760
PDF下載

專利 D817132

Needle-nos...
D817132
PDF下載

專利 9962813

Pliers app...
9962813
PDF下載

專利 9937605

Illuminati...
9937605
PDF下載

專利 9923346

Pliers
9923346
PDF下載

專利 D811842

Pipe pliers
D811842
PDF下載

專利 D811841

Fuel line ...
D811841
PDF下載

專利 D811187

O-ring spr...
D811187
PDF下載

專利 D811186

Pliers wit...
D811186
PDF下載

專利 D810535

Plier
D810535
PDF下載

專利 D810534

Plier
D810534
PDF下載

專利 D809888

Pinch-off ...
D809888
PDF下載

專利 D809360

Pliers
D809360
PDF下載

專利 9873188

Pliers for...
9873188
PDF下載

專利 9864948

Hand pliers
9864948
PDF下載

專利 9855644

Pliers
9855644
PDF下載

專利 9855642

Effort-sav...
9855642
PDF下載

專利 9844857

Locking pl...
9844857
PDF下載

專利 D804922

Big mouth ...
D804922
PDF下載

專利 D803021

Pliers
D803021
PDF下載

專利 9821438

Self-adjus...
9821438
PDF下載

專利 D801771

Pliers
D801771
PDF下載

專利 D801770

Multiple g...
D801770
PDF下載

專利 9808914

Fastener s...
9808914
PDF下載