每月定時提供最新各國專利公報

齒盤相關專利 (TW)

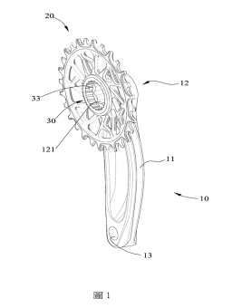
專利 M579614

劉潔毅
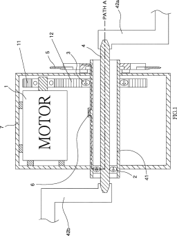
自行車的驅動齒盤、具...
M579614
官網連結 PDF下載

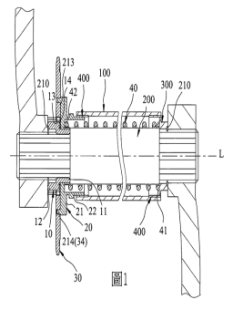
專利 M576561

馭捷股份有限公司
可調整鏈線的齒盤曲柄
M576561
官網連結 PDF下載

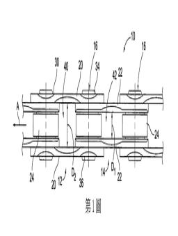
專利 I642864

傳誠技研有限公司
導向齒盤結構
I642864
官網連結 PDF下載

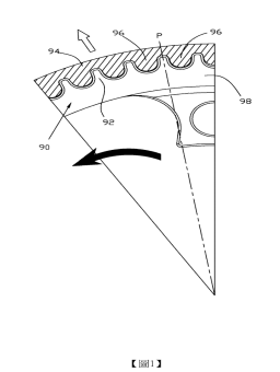
專利 I638749

天心工業股份有限公司
齒盤安裝結構
I638749
官網連結 PDF下載

專利 M567740

大陸商浩盟車料(上海)有限公司
可使自行車落鏈時自動...
M567740
官網連結 PDF下載

專利 I615320

國立雲林科技大學
耐磨抗沾齒盤
I615320
官網連結 PDF下載

專利 I615321

傳誠技研有限公司
自行車的齒盤組
I615321
官網連結 PDF下載

專利 I611983

傳誠技研有限公司
以皮帶傳動的齒盤組結構
I611983
官網連結 PDF下載

專利 M554083

安大科技股份有限公司
自行車齒盤及自行車齒盤組
M554083
官網連結 PDF下載

專利 D186362

毅麟企業有限公司
齒盤部分
D186362
官網連結 PDF下載

專利 D185750

銘穗精密工業有限公司
自行車齒盤
D185750
官網連結 PDF下載

專利 M548130

毅麟企業有限公司
齒盤結構
M548130
官網連結 PDF下載

專利 I596040

松璟精密工業股份有限公司
自行車齒盤連接裝置
I596040
官網連結 PDF下載

專利 I593598

傳誠技研有限公司
自行車偏心齒盤與曲柄的組合
I593598
官網連結 PDF下載

專利 M546355

銘穗精密工業有限公司
自行車齒盤結構改良
M546355
官網連結 PDF下載

專利 M543206

大造熊科技股份有限公司
齒盤組
M543206
官網連結 PDF下載

專利 M541980

朝嘉興業股份有限公司
以鏈條驅動的齒盤
M541980
官網連結 PDF下載

專利 I580609

張淑瓊
自行車之曲柄齒盤裝置
I580609
官網連結 PDF下載

專利 I577601

輪俥股份有限公司
快拆齒盤裝置
I577601
官網連結 PDF下載

專利 D181074

銘穗精密工業有限公司
齒盤之部分
D181074
官網連結 PDF下載

專利 M534723

速聯有限責任公司
腳踏車鏈環、腳踏車曲...
M534723
官網連結 PDF下載

專利 M534724

速聯有限責任公司
鏈環、腳踏車曲柄齒盤...
M534724
官網連結 PDF下載

專利 M533619

松璟精密工業股份有限公司
自行車齒盤連接裝置
M533619
官網連結 PDF下載

專利 I549862

轉片元件科技有限公司
可附加於曲柄臂之卵形...
I549862
官網連結 PDF下載

專利 D177008

柯信充
齒盤
D177008
官網連結 PDF下載

專利 M521589

天心工業股份有限公司
可拆式齒盤組
M521589
官網連結 PDF下載

專利 I531507

劉孟武
自行車前齒盤變速器的...
I531507
官網連結 PDF下載

專利 M514955

輪俥股份有限公司
快拆齒盤裝置
M514955
官網連結 PDF下載

專利 D172246

傑森企業股份有限公司
齒盤護蓋之部分
D172246
官網連結 PDF下載

專利 M507899

傑森企業股份有限公司
自行車皮帶輪齒盤護蓋結構
M507899
官網連結 PDF下載

專利 M500732

誌祥國際有限公司
防掉鏈齒盤
M500732
官網連結 PDF下載

專利 D167068

王智強
齒盤之部分
D167068
官網連結 PDF下載

專利 D166844

溫宜玲
自行車齒盤
D166844
官網連結 PDF下載

專利 D166490

侑鋒實業有限公司
齒盤之部分
D166490
官網連結 PDF下載

專利 D165379

輪鋒工業股份有限公司
齒盤裝置之部分
D165379
官網連結 PDF下載

專利 D164500

銘穗精密工業有限公司
齒盤之部分
D164500
官網連結 PDF下載

專利 M483923

溫宜玲
減少落鏈之自行車齒盤構造
M483923
官網連結 PDF下載

專利 M470063

楊志正
變速齒盤
M470063
官網連結 PDF下載

專利 I418491

矢倫德國股份有限公司
自行車之齒盤組及變速系統
I418491
官網連結 PDF下載

專利 I414455

拓肯興業股份有限公司
自行車用之齒盤及包含...
I414455
官網連結 PDF下載

專利 M462233

劉孟武
自行車前齒盤變速器
M462233
官網連結 PDF下載

專利 D155757

彰建國際股份有限公司
齒盤
D155757
官網連結 PDF下載

專利 I399322

許家瑋
自行車之齒盤
I399322
官網連結 PDF下載

專利 D153680

魯發訓
齒盤曲柄
D153680
官網連結 PDF下載

專利 M451317

彰建國際股份有限公司
自行車用齒盤結構改良
M451317
官網連結 PDF下載

專利 I374835

榮技研股份有限公司
自行車用齒盤
I374835
官網連結 PDF下載

專利 M427346

銘穗精密工業有限公司
自行車之齒盤組
M427346
官網連結 PDF下載

專利 M424300

李良芳
自行車皮帶輪齒盤改良
M424300
官網連結 PDF下載

專利 I356026

榮技研股份有限公司
自行車用齒盤
I356026
官網連結 PDF下載

專利 M410712

銘穗精密工業有限公司
曲柄齒盤組
M410712
官網連結 PDF下載

專利 201901066

義大利商坎帕克諾羅公司
用於自行車大齒盤的齒冠
201901066
官網連結 PDF下載

專利 201838867

傳誠技研有限公司
自行車齒盤曲柄組合結構
201838867
官網連結 PDF下載

專利 201837347

美商速聯有限責任公司
腳踏車鏈環、腳踏車曲...
201837347
官網連結 PDF下載

專利 201816308

義大利商坎帕克諾羅公司
用於自行車齒盤的齒冠的銷
201816308
官網連結 PDF下載

專利 201741576

速聯有限責任公司
腳踏車鏈環及腳踏車曲柄齒盤
201741576
官網連結 PDF下載

專利 201641848

傳誠技研有限公司
皮帶輪組與齒盤組結合結構
201641848
官網連結 PDF下載

專利 201525329

溫宜玲
自行車齒盤
201525329
官網連結 PDF下載

專利 201300282

林昌慧
輕量低風阻齒盤
201300282
官網連結 PDF下載

專利 201215537

喬紳股份有限公司
自行車後花轂之齒盤座結構
201215537
官網連結 PDF下載

齒盤相關專利 (US)

專利 10328995

Multi-spro...
10328995
PDF下載

專利 10315727

Bicycle re...
10315727
PDF下載

專利 10309515

Bicycle re...
10309515
PDF下載

專利 10308316

Rear wheel...
10308316
PDF下載

專利 10302184

Bicycle co...
10302184
PDF下載

專利 10300984

Bicycle el...
10300984
PDF下載

專利 10295041

Bicycle sp...
10295041
PDF下載

專利 10295040

Bicycle sp...
10295040
PDF下載

專利 10286978

Bicycle cr...
10286978
PDF下載

專利 10259526

Assembling...
10259526
PDF下載

專利 10253865

Multi-gear...
10253865
PDF下載

專利 10247291

Bicycle sp...
10247291
PDF下載

專利 10167049

Crank trea...
10167049
PDF下載

專利 10160030

Cassette a...
10160030
PDF下載

專利 10156287

Crank-less...
10156287
PDF下載

專利 10155566

Interchang...
10155566
PDF下載

專利 10151378

Sprocket a...
10151378
PDF下載

專利 10150533

Bicycle cr...
10150533
PDF下載

專利 10138991

Bicycle sp...
10138991
PDF下載

專利 10124849

Sprocket c...
10124849
PDF下載

專利 10119579

Cassette d...
10119579
PDF下載

專利 10113632

Bicycle sp...
10113632
PDF下載

專利 10113597

Cassette d...
10113597
PDF下載

專利 10112682

Method to ...
10112682
PDF下載

專利 10112681

Bicycle sp...
10112681
PDF下載

專利 10107377

Bicycle sp...
10107377
PDF下載

專利 10093390

Multiple-s...
10093390
PDF下載

專利 10093389

Bicycle fr...
10093389
PDF下載

專利 10093388

Bicycle re...
10093388
PDF下載

專利 10077093

Collapsibl...
10077093
PDF下載

專利 10066673

Bicycle cr...
10066673
PDF下載

專利 10065703

Right cran...
10065703
PDF下載

專利 10059400

Multiple b...
10059400
PDF下載

專利 10053187

Bicycle re...
10053187
PDF下載

專利 10053186

Rear wheel...
10053186
PDF下載

專利 10040510

Bicycle sp...
10040510
PDF下載

專利 10005520

Bicycle dr...
10005520
PDF下載

專利 10000256

Bicycle sp...
10000256
PDF下載

專利 10000253

Bicycle cr...
10000253
PDF下載

專利 9994285

Multiple b...
9994285
PDF下載

專利 9969459

Right cran...
9969459
PDF下載

專利 9964196

Bicycle sp...
9964196
PDF下載

專利 9963196

Bicycle sp...
9963196
PDF下載

專利 9951856

Bi-metalli...
9951856
PDF下載

專利 9932090

Bicycle re...
9932090
PDF下載

專利 9926038

Bicycle sp...
9926038
PDF下載

專利 9921118

Apparatus,...
9921118
PDF下載

專利 9919764

Bicycle sp...
9919764
PDF下載

專利 9919763

Bicycle sp...
9919763
PDF下載

專利 9915336

Bicycle sp...
9915336
PDF下載